Curiosii for ever!: Car repair manuals for everyone.

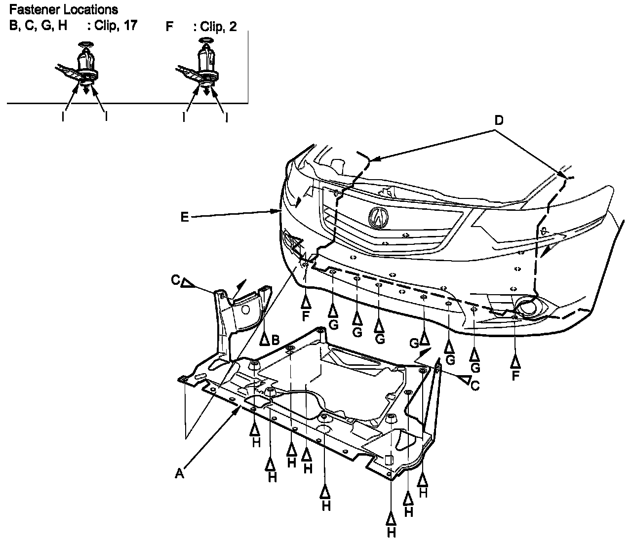
Front Splash Shield Replacement




Front Splash Shield Replacement

NOTE:

- Put on gloves to protect your hands.
- Take care not to scratch the body.
- When prying with a flat-tip screwdriver, wrap it with protective tape to prevent damage.

1. Remove the front splash shield (A).

1. Remove the clip (B) securing the front splash shield to the body.

2. Detach the clips (C) securing the front inner fender (D) and the front splash shield to the body.

3. From under the front bumper (E), detach the clips (F) securing the front bumper, the front inner fender, and the front splash shield to the body.

4. From under the front bumper, detach the clips (G) securing the front bumper and the front splash shield to the body.

5. From under the body, detach the clips (H) securing the front splash shield (and the plate) to the front subframe.

NOTE: To release the clips, pry up on the center pin at the notch (I).





2. Install the splash shield in the reverse order of removal, and note these items:

- If the clips are damaged or stress-whitened, replace them with new ones.
- Push the clips into place securely.