Curiosii for ever!: Car repair manuals for everyone.

A/T Shift Lever Boot and Shift Lever Boot Base Replacement (A/T)




A/T Shift Lever Boot and Shift Lever Boot Base Replacement

1. Remove the shift lever knob A/T Shift Lever Knob Replacement.

2. Apply protective tape (A) to the A/T shift panel (B) along the side edge of the shift lever boot base (C). Pry up on the edge of the shift lever trim with a flat-tapped screwdriver wrapped with protective tape to release the hooks (D).






3. Release the lock tabs (A) on the shift lever boot using a screwdriver.






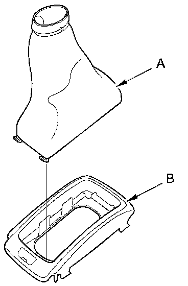
4. Replace the shift lever boot (A) or the shift lever boot base (B).





5. Install the shift lever boot on the shift lever boot base.

6. Install the shift lever boot base (A) on the A/T shift panel.





7. Install the shift lever knob A/T Shift Lever Knob Replacement.