Curiosii for ever!: Car repair manuals for everyone.

Clutch Switch: Adjustments




Clutch Pedal, Clutch Pedal Position Switch A, and Clutch Pedal Position Switch B Adjustment

NOTE:

- For a cruise control problem, check clutch pedal position switch B Clutch Pedal Position Switch B Test (M/T).
- For a clutch pedal position switch operation problem, check clutch pedal position switch A Clutch Pedal Position Switch A Test.
- Remove the driver's floor mat before adjusting the clutch pedal.
- If there is no clearance between the master cylinder piston and the pushrod, the release bearing will be held against the diaphragm spring, which can result in clutch slippage or other clutch problems.

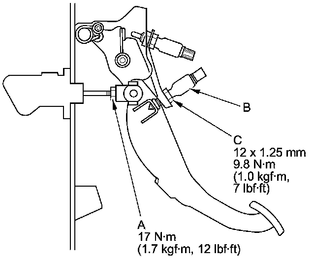
1. Disconnect the clutch pedal position switch A connector and the clutch pedal position switch B connector.

2. Loosen the clutch pedal position switch B locknut (A), and back off clutch pedal position switch B until it no longer touches the clutch pedal (C).





3. Loosen the clutch pushrod locknut (D), and turn the pushrod (E) in or out to get the specified height (F), and the stroke (G) at the clutch pedal. If adjusting the pushrod causes the clutch pedal to contact clutch pedal position switch B, back off the switch further.










4. Tighten the clutch pushrod locknut (A).





5. With the clutch pedal released, turn in clutch pedal position switch B until it contacts the clutch pedal.

6. Turn in clutch pedal position switch B an additional 3/4 to 1 turn. Make sure the clutch pedal height did not change.

7. While holding clutch pedal position switch B, tighten the locknut (C).

8. Loosen the clutch pedal position switch A locknut (B).





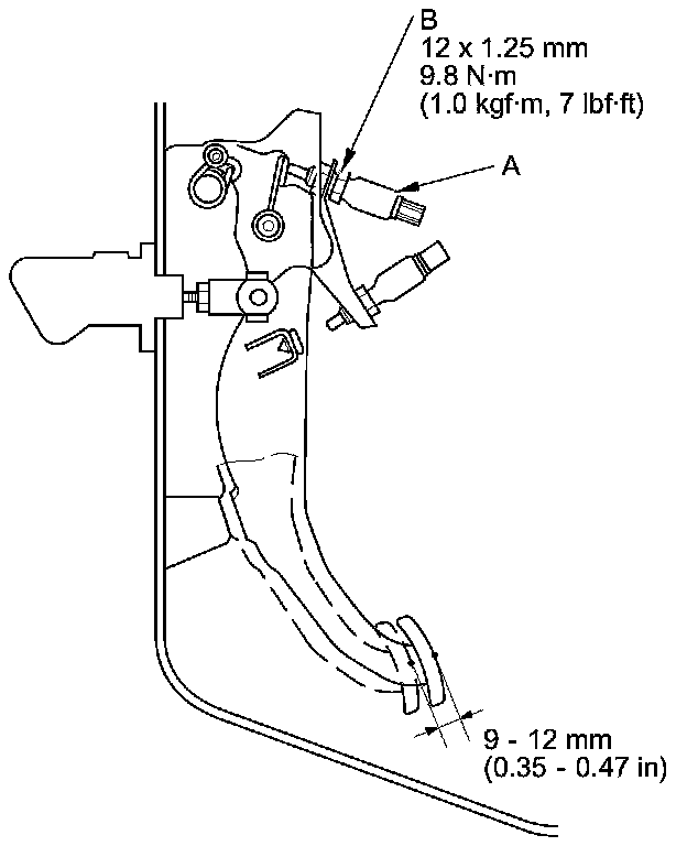
9. Fully press the clutch pedal to the floor, then release the clutch pedal 9-12 mm (0.35-0.47 in) and hold it there.

10. Adjust the position of clutch pedal position switch A so the engine starts with the clutch pedal in this position.

11. While holding clutch pedal position switch A, tighten the locknut.

12. Check the clutch operation.

13. Connect the clutch pedal position switch A connector and the clutch pedal position switch B connector, then check the cruise control and the clutch pedal position switch operation.