Curiosii for ever!: Car repair manuals for everyone.

Tire Pressure Module: Service and Repair




TPMS Control Unit Replacement

NOTE: Make sure the TPMS control unit mounting bracket is not bent or twisted as this may affect its communication with the initiators and the tire pressure sensors.

1. Turn the ignition switch to LOCK (0), or press the engine start/stop button to select the OFF mode.

2. Remove the driver's dashboard undercover Driver's Dashboard Undercover Removal/Installation.

3. Disconnect the TPMS control unit connector (A).

NOTE: The TPMS control unit is located on the brake pedal support member (B).





4. Remove the flange bolt (C) from the brake pedal support member.

5. Remove the TPMS control unit (D) with the bracket (E).

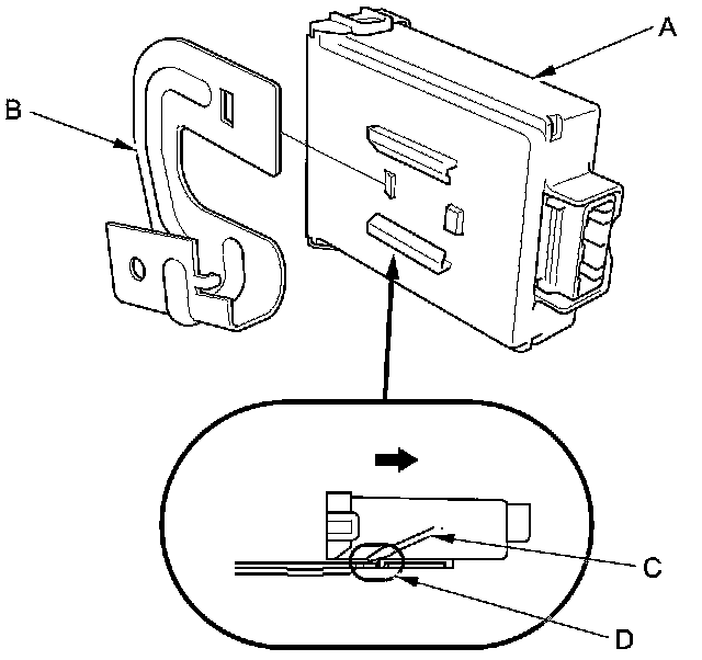
6. Remove the TPMS control unit (A) from the bracket (B).

NOTE: To disconnect the TPMS control unit from its bracket, insert a small flat-tipped screwdriver (C) between the TPMS control unit and the bracket shown in (D) to release the hook, then slide out the TPMS control unit.





7. Install the TPMS control unit in the reverse order of removal.

NOTE: Make sure the TPMS control unit is properly installed. You will hear a click when the TPMS control unit is securely mounted on the bracket.

8. Connect the HDS, and memorize the tire pressure sensor IDs Testing and Inspection. Do not memorize the IDs automatically.