Curiosii for ever!: Car repair manuals for everyone.

Steering Angle Sensor: Service and Repair




Steering Angle Sensor Replacement

NOTE: Do not damage or drop the combination switch as the steering angle sensor is sensitive to shock and vibration.

1. With the wheels in the straight ahead position and the steering wheel centered, then remove the steering wheel Steering Wheel Removal.

2. Remove the steering column covers Service and Repair.

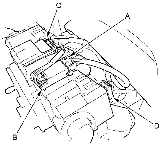
3. Disconnect the combination light switch 12P connector (A) and the steering angle sensor 5P connector (B) from the combination switch assembly/cable reel (C).






4. Disconnect the dashboard wire harness 4P connector (A) from the cable reel 4P connector (B), then disconnect the dashboard wire harness 20P connector (C) and the wiper/washer switch 8P connector (D).






5. Remove the combination switch assembly/cable reel mounting screws (A).





6. Remove the wire harness clips (B), then remove the combination switch assembly/cable reel from the steering column.

7. Remove the cable reel.

8. Remove the combination light switch (A) and the wiper/washer switch (B) from the combination switch body assembly (C).





9. Install the combination switch body assembly in the reverse order of removal, and note these items:

- Do not remove the steering angle sensor from the combination switch body assembly.
- When installing the cable reel, set the turn signal canceling sleeve position so that the arrow points straight up.
- Tighten the combination switch mounting screw in the proper sequence.
- With SH-AWD: Do the VSA sensor neutral position memorization Programming and Relearning.