Curiosii for ever!: Car repair manuals for everyone.

Steering Column Lock: Service and Repair




Steering Lock Replacement

1. Remove the steering column Steering Column Removal/Installation.

2. Center-punch both of the shear bolts, and drill their heads off with a 5.0 mm (0.197 in) drill bit. Be careful not to damage the steering lock and steering column when removing the shear bolts.





3. Remove the shear bolts from the steering lock.

4. Remove the immobilizer control unit-receiver from the steering lock, then install it to a new steering lock Immobilizer Control Unit-Receiver Replacement.

5. Install the steering lock without the key inserted.

6. Loosely tighten new shear bolts.

7. Insert the ignition key, and check for proper operation of the steering wheel lock and that the ignition key turns freely.

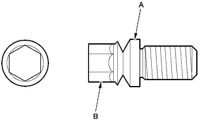
8. Tighten the shear bolts (A) until the hex heads (B) twist off.





9. Install the steering column Steering Column Removal/Installation.

10. Rewrite all new keys to the immobilizer control unit-receiver with the HDS, and make sure the immobilizer system works properly Programming and Relearning.