Curiosii for ever!: Car repair manuals for everyone.

Drive Belt: Testing and Inspection




Drive Belt Inspection

1. Remove the right upper fender trim .

2. Inspect the belt for cracks or damage. If the belt is cracked or damaged, replace it Service and Repair.

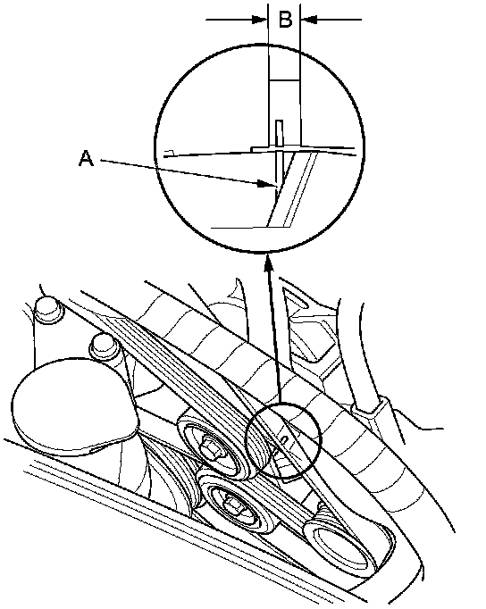
3. Check that the position the auto-tensioner indicator (A) is within the standard range (B) as shown. If it is out of the standard range, replace the drive belt Service and Repair.





4. Install the right upper fender trim .