Curiosii for ever!: Car repair manuals for everyone.

Steering Angle Sensor: Service and Repair




Steering Angle Sensor Replacement

SRS components are located in this area. Review the SRS component locations Locations and the precautions and procedures Service and Repair before doing repairs or service.

NOTE: Do not damage or drop the combination switch assembly/cable reel as the steering angle sensor is sensitive to shock and vibration.

1. With the wheels in the straight ahead position and the steering wheel centered, remove the steering wheel Steering Wheel Removal.

2. Remove the steering column covers.

3. Remove the instrument fascia Instrument Fascia Removal / Installation.

4. Disconnect the steering angle sensor 5P connector (A) from the combination switch assembly/cable reel (B).






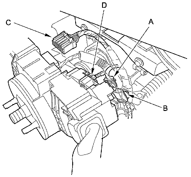
5. Disconnect the dashboard wire harness 4P connector (A) from the cable reel 4P connector and remove the clip (B), then disconnect the dashboard wire harness 20P connector (C) and the wiper/washer switch 8P connector (D).






6. Remove the combination switch assembly/cable reel mounting screws (A), then remove the combination switch assembly/cable reel from the steering column.





7. Remove the cable reel Service and Repair.

8. Remove the combination light switch (A) and the wiper/washer switch (B) from the combination switch body assembly (C).

NOTE: When installing the cable reel, set the turn signal canceling sleeve position so that the arrow points (D) straight up.





9. Install the combination switch body assembly in the reverse order of removal, and note these items:

- Do not remove the steering angle sensor from the combination switch body assembly.
- Do the VSA sensor neutral position memorization Programming and Relearning.