Curiosii for ever!: Car repair manuals for everyone.

Power Seat Adjustment Switch Test/Replacement




Power Seat Adjustment Switch Test/Replacement

NOTE: SRS components are located in this area. Review the SRS component locations Locations, and the precautions and procedures Service and Repair before doing repairs or servicing.

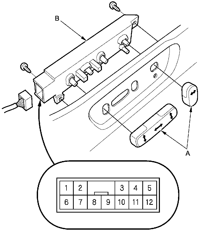
1. Remove the power seat adjustment switch knobs (A) and recline cover from the driver's power seat Front Seat Cushion Cover Replacement, then remove the two screws and the power seat adjustment switch (B).





2. Disconnect the 12P connector from the power seat adjustment switch.

3. Reinstall the adjustment switch knobs to the switch.

4. Check for continuity between the terminals in each switch position according to the table.





5. If the continuity is not as specified, replace the switch.