Curiosii for ever!: Car repair manuals for everyone.

Front Fender Fairing Replacement




Front Fender Fairing Replacement

1. Remove the front inner fender as needed Front Inner Fender Replacement.

2. Open the front door, and remove the clips that secure the front fender fairing (A). Detach the upper clip (B) from outside of the front door, and remove the lower clip (C) from inside of the front door.






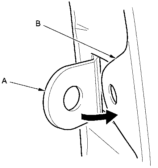
3. Release the clips (A, B) from the wheel arch.





4. Remove the front fender fairing (C) from the front fender.

5. Install the fender fairing in the reverse order of removal, and note these items:

- If the clips are damaged or stress-whitened, replace them with new ones.
- Before installing the clips in the door opening area, install the front fender fairing (A) on the front fender (B) as shown.
- Push the clips into place securely.