Curiosii for ever!: Car repair manuals for everyone.

Accessory Control Display: Service and Repair




Interface Dial Removal/Installation

1. Remove the audio unit Audio Unit Removal / Installation.

2. Remove the harness cover (A).






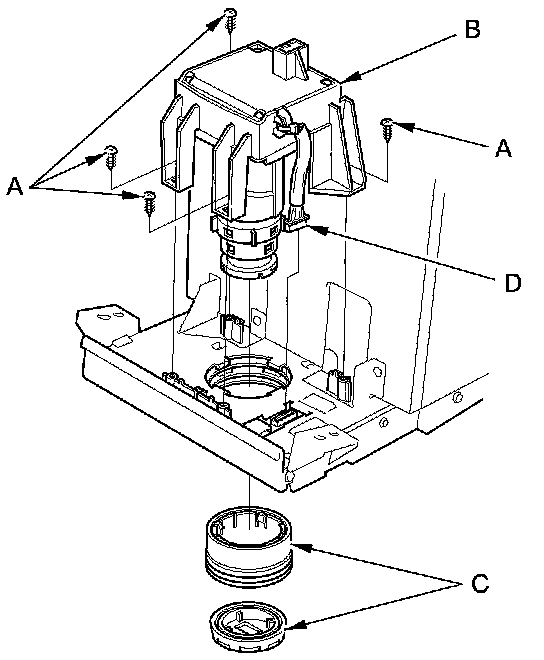
3. Remove the screws (A) and the jog dial (B) from the interface dial (C).





4. Disconnect the connector (D), then remove the interface dial.

5. Install the interface dial in reverse order of removal.