Curiosii for ever!: Car repair manuals for everyone.

Front Door Window Glass: Service and Repair




Front Door Glass and Regulator Replacement

NOTE: Put on gloves to protect your hands.

1. Raise the glass fully.

2. Remove these items:

- Door panel Front Door Panel Removal/Installation
- Inner handle Front Door Panel Removal/Installation

3. Remove the plastic cover (A).

1. Disconnect the power door lock actuator connector (B).

2. Remove the plug caps (C).

3. Pass the wire harnesses (D) and the cables (E) through the slits (F) in the plastic cover, then remove the plastic cover.

NOTE: If the plastic cover is damaged or torn, replace it with a new one.





4. Lower the glass (A) until you can see the bolts, then remove them. Carefully pull out the glass through the window slot.

NOTE: Take care not to drop the glass inside the door.






5. Disconnect the connector (A) from the regulator (B).





6. Remove the bolts (C), and loosen the bolt (D). Release the hook (E), then remove the regulator through the hole in the door.

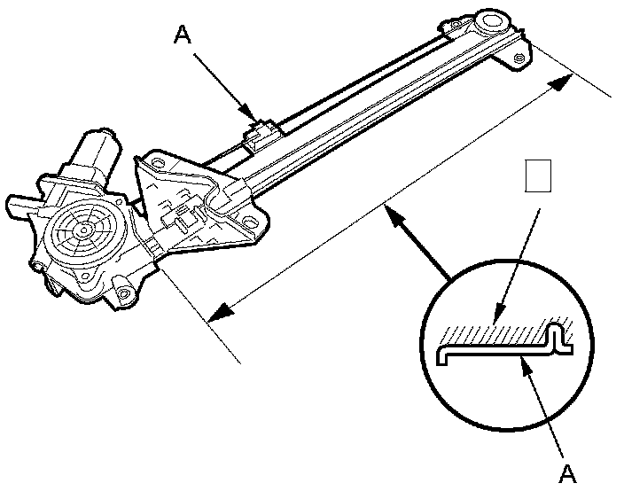
7. Apply multipurpose grease to all the sliding surfaces of the regulator (A) where shown.





8. Install the glass and the regulator in the reverse order of removal, and note these items:

- If the clips are damaged or stress-whitened, replace them with new ones.
- Make sure that each connector is plugged in properly.
- Push the clips and the hook into place securely.
- Make sure that there is no clearance between the glass and the glass run channel when the glass is closed.
- Roll the glass up and down to make sure it moves freely without binding.
- Adjust the position of the glass as necessary Adjustments.
- Do the power window control unit reset procedure Testing and Inspection.
- Make sure the power door lock, the power window, and the power mirror operate properly.
- When reinstalling the door panel, make sure the plastic cover on the door is installed properly and sealed around its outside perimeter to seal out water.
- Check for water leaks Adjustments.
- Test-drive the vehicle, and check for wind noise and rattles.