Curiosii for ever!: Car repair manuals for everyone.

A/T System Description - Electronic Control System




A/T System Description - Electronic Control System

Electronic Control System

Electronic Control

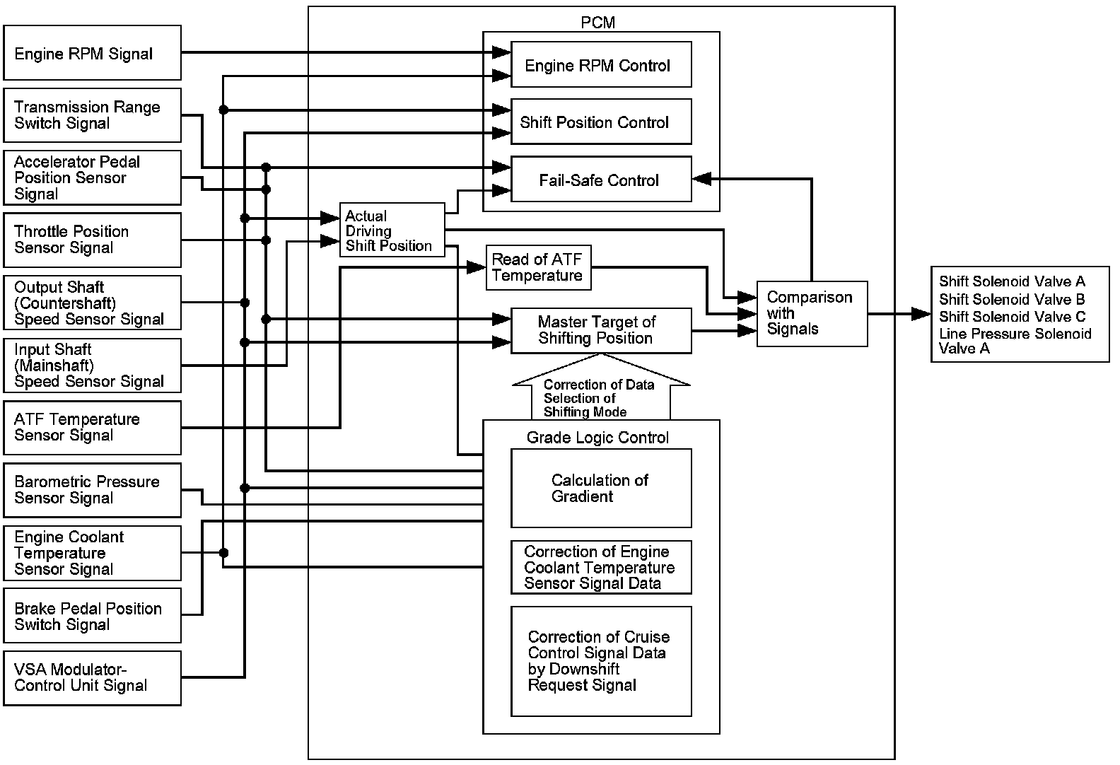
The electronic control system consists of the PCM, sensors, and eight solenoid valves.

Functional Diagram

The PCM receives input signals from the sensors, switches and other control units, processes data, and outputs signals for the engine control system and the A/T control system. The A/T control system includes shift control, clutch pressure control, lock-up control, and A/T system hydraulic control. The PCM switches the shift solenoid valves and the A/T clutch pressure control solenoid valves on and off in a specific sequence to control gear selection and torque converter clutch lock-up. It also controls the appropriate operating hydraulic pressure to the automatic transmission.






Shift Control

The PCM instantly determines which gear should be selected by various signals sent from sensors and switches, and it actuates the solenoid valves to control gear selection.

There are several types of solenoid valves as below.

Shift solenoid valve:
Shift solenoid valves A, B, and C switch to the hydraulic pressure supply circuit to the clutch. Shift solenoid valves A, B, and C are normally closed (ON-OPEN/OFF-CLOSE); the normally closed solenoid valve port opens to allow ATF to pass through when the PCM turns it ON, and the port closes, blocking fluid flow when turned OFF.

A/T clutch pressure control solenoid valve:
A/T clutch pressure control solenoid valves A, B, C, and D apply hydraulic pressure to each clutch via the hydraulic circuit switched by the shift solenoid valve, and engage each clutch. A/T clutch pressure control solenoid valve D supplies hydraulic pressure to the lock-up clutch. A/T clutch pressure control solenoid valves A, B, C, and D are normally closed (ON-OPEN/OFF-CLOSE); the normally closed solenoid valve port opens to allow ATF to pass through when the PCM turns it ON, and the port closes, blocking fluid flow when turned OFF. These solenoid valves are controlled by the current and are duty controlled depending on the vehicle speed and the throttle position.

Line pressure solenoid valve:
Line pressure solenoid valve A controls the hydraulic pressure in the hydraulic control system of the automatic transmission. Line pressure solenoid valve A is normally closed (ON-OPEN/OFF-CLOSE); the normally closed solenoid valve port opens to allow ATF to pass through when the PCM turns it ON, and the port closes, blocking fluid flow when turned OFF.

The combination of driving signals to solenoid valves for each gear are in the following table.






Shift Control - Grade Logic Control

The grade logic control system is used to control shifting in D, and in S with automatic shift mode. The PCM compares actual driving conditions with programmed driving conditions, based on the input from the throttle position sensor, the engine coolant temperature sensor, the barometric pressure sensor, the brake pedal position switch signal, and the shift lever position signal. The PCM compares actual driving conditions with programmed driving conditions, based on the input from the throttle position sensor, the engine coolant temperature sensor, the barometric pressure sensor, the brake pedal position switch signal, and the shift lever position signal, to switch shifting control from the normal control to the ascending or descending control when the PCM determines that the vehicle is ascending a slope or running in the rain.






Grade Logic Control: Ascending Control

When the PCM determines that the vehicle is climbing a hill in D and in S with automatic shift mode, the system extends the engagement area of 2nd gear, 3rd gear, 4th gear, and 5th gear to prevent the transmission from frequently shifting between 2nd and 3rd gears, between 3rd and 4th gears, between 4th and 5th gears, and between 5th and 6th gears, so the vehicle can run smoothly and have more power when needed.

NOTE: Shift commands stored in the PCM between 2nd and 3rd gears, between 3rd and 4th gears, between 4th and 5th gears, and between 5th and 6th gears, enable the PCM to automatically select the most suitable gear based on the steepness of the grade.






Grade Logic Control: Descending Control

When the PCM determines that the vehicle is going down a hill in D, and in S with automatic shift mode, the upshift speed from 5th to 6th gear, 4th to 5th gear, 3rd to 4th gear, and from 2nd to 3rd (when the throttle is closed) becomes higher than the set speed for flat road driving to extend the 5th gear, 4th gear, 3rd gear, and 2nd gear driving areas. This, in combination with engine braking from the deceleration lock-up, achieves smooth driving when the vehicle is descending. There are descending modes with different 5th gear, 4th gear, 3rd gear, and 2nd gear driving areas based on the steepness of the grade stored in the PCM. When the vehicle is in 6th, 5th, or 4th gear, and the vehicle is decelerating while applying the brakes on a steep hill, the transmission downshifts to a lower gear. When you accelerate, the transmission then returns to a higher gear from the current position.

Deceleration Control

When the vehicle goes around a corner and needs to decelerate first and then accelerate, the PCM goes into the deceleration control mode to reduce the number of times the transmission shifts. When the vehicle is decelerating from speeds above 27 mph (43 km/h), the PCM anticipates upcoming acceleration, and shifts the transmission from 4th to 3rd earlier than normal.

Shift-Hold Control

Shift-hold control maintains transmission gear position during cornering and controls the transmission to avoid frequently shifting. When the vehicle is cornering, the PCM extends the engagement of 2nd, 3rd, 4th, and 5th to prevent the transmission from frequently shifting between 3rd, 4th, 5th, and 6th gears. When the PCM determines that the vehicle is cornering by the accelerator pedal position, vehicle speed, lateral G-force estimate from the rpm difference between each wheel, it delays the upshift from 3rd to 4th, 4th to 5th, and 5th to 6th gears, which improves the engine output and the engine brake. The transmission resumes the normal upshift pattern after the PCM determines that normal driving has resumed.






Shift Control - Manual Shift Mode

The transmission is equipped with a D-paddle shift mode in D, and with a sequential sportshift mode in S.
Either mode can be activated by pressing the paddle shifter + (upshift switch) or the paddle shifter - (downshift switch) while driving with the shift lever is in D and S.

D-Paddle Shift Mode

To engage the D-paddle shift mode, press either of the steering wheel mounted paddle shifters while driving in D. In this mode, the transmission can downshift by pressing the paddle shifter -, or upshift by pressing the paddle shifter +. Each time the transmission is shifted using the paddles, the shift indicator in the gauge control module displays the current position. The display turns off when the transmission upshifts or downshifts automatically while coasting. The transmission stays in 6th gear if the paddle shifter + is pressed when driving in 6th gear, and the shift indicator displays "6" for 2 seconds, then goes off. The transmission stays in 1st gear if the paddle shifter - is pressed when driving in 1st gear, and the shift indicator displays "1" for 2 seconds, then goes off. The transmission stays in the current gear and does not upshift to the next higher gear if the paddle shifter + is pressed while driving below the minimum allowable speed, and the shift indicator blinks the number of the next higher gear several times, then returns to the number of the current gear.






S Position Automatic Shift Mode and Sequential Sportshift Mode

The S position has two shifting modes; the automatic shift mode and the sequential sportshift mode. In the S position automatic shift mode, the transmission upshifts and downshifts automatically from 1st through 5th gear, if the paddle shifters are not pressed. When the paddle shifter + (upshift switch) or the paddle shifter - (downshift switch) is pressed, the automatic shift mode is canceled and the sequential sportshift mode comes into operation. The shift indicator displays the number of the selected gear. In the sequential sportshift mode, the driver can shift up and down manually from 1st through 6th gear by using the paddle shifters, much like a manual transmission. The paddle shifters are installed on the back of the steering wheel, and the driver can shift gears by pressing the paddle shifters without taking either hand off the steering wheel. In the sequential sportshift mode, the transmission must be shifted up and down by pressing the paddle shifters.
However, if the vehicle is coasting at a speed that would cause the engine to over-rev by downshifting, the transmission will not shift when the paddle shifter - is pressed. The shift indicator blinks the number of the selected gear position several times, then returns to the current gear. If the vehicle speed reaches an appropriate speed while the shift indicator is blinking, the transmission downshifts and the shift indicator displays the selected gear. Likewise, if the vehicle is driving below an appropriate speed to upshift when the paddle shifter + is pressed, the transmission will not shift. The shift indicator blinks the number of the selected gear several times, and then returns to the number of the current gear. If the vehicle speed reaches an appropriate upshift speed while the shift indicator is blinking, the transmission upshifts and the shift indicator displays the selected gear.
The sequential sportshift mode has automatic downshifting areas so the vehicle can run smoothly with more power to cope with upcoming acceleration. When coasting in 6th gear, 5th gear, or 4th gear, the transmission downshifts to the next lower gear if the vehicle slows down to the programmed speed, or by pressing the brake pedal. When the transmission decelerates to a stop, the transmission shifts to 1st gear automatically. The transmission can be shifted to 2nd gear by pressing the paddle shifter + while the vehicle is stopped, and the vehicle can start off in 2nd gear. The sequential sportshift mode is canceled when moving the shift lever to any position other than S.






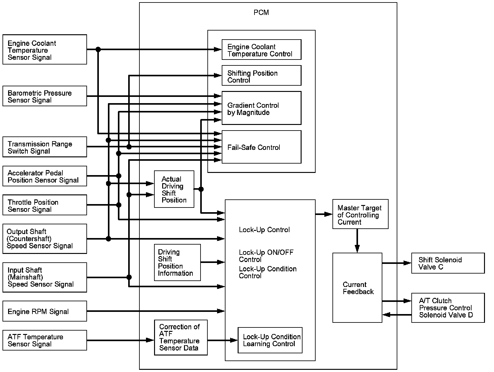
Clutch Pressure Control

The PCM actuates A/T clutch pressure control solenoid valves A, B, C, and D to control the clutch pressure. When shifting between gears or during lock-up, the clutch pressure regulated by A/T clutch pressure control solenoid valves A, B, C, and D engages and disengages the clutch smoothly. The PCM receives input signals from the various sensors and switches, then processes the data, and outputs current to A/T clutch pressure control solenoid valves A, B, C, and D.






Lock-Up Control

Shift solenoid valve C and A/T clutch pressure control solenoid valve D control the hydraulic pressure to switch the lock-up shift valve and lock-up ON and OFF. When the PCM actuates shift solenoid valve C and A/T clutch pressure control solenoid valve D ON, lock-up starts. A/T clutch pressure control solenoid valve D applies and regulates hydraulic pressure to the lock-up control valve to control the amount of lock-up. The lock-up mechanism operates in D (during accelerating: 1st, 2nd, 3rd, 4th, 5th, and 6th gears/during decelerating: 2nd, 3rd, 4th, 5th, and 6th gears), S with automatic shift mode (during accelerating: 1st, 2nd, 3rd, 4th, and 5th gears/during decelerating: 2nd, 3rd, 4th, and 5th gears), and S with sequential sportshift mode (during accelerating: 1st, 2nd, 3rd, 4th, 5th, and 6th gears /during decelerating: 2nd, 3rd, 4th, 5th, and 6th gears).






PCM A/T Control System Electrical Connections





PCM A/T Control System Inputs and Outputs at PCM connector A (Square) (49P)









PCM A/T Control System Inputs and Outputs at PCM connector B (Triangle) (49P)









PCM A/T Control System Inputs and Outputs at PCM connector C (Circle) (49P)









PCM A/T Control System Inputs and Outputs at PCM connector C (Circle) (49P)