Curiosii for ever!: Car repair manuals for everyone.

Seat Position Sensor: Service and Repair




Driver's Seat Position Sensor Replacement

Removal

NOTE: Do not turn the ignition switch to ON (II), or press the engine start/stop button to select the ON mode, and do not connect the battery cable while removing the driver's seat position sensor.

1. Raise the driver's seat all the way up.

2. Do the battery terminal disconnection procedure Procedures, then wait at least 3 minutes before starting work.

3. Remove the upper rail outer cover Front Seat Frame Replacement.

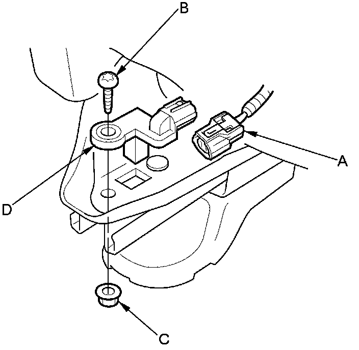
4. Disconnect the driver's seat position sensor 2P connector (A) on the driver's seat wire harness.





5. Remove the TORX bolt (B) and nut (C) using a TORX T30 bit, then remove the driver's seat position sensor (D).

Installation

NOTE:

- Be sure to install the harness so it is not pinched or interferes with other parts.
- Do not turn the ignition switch to ON (II), or press the engine start/stop button to select the ON mode, and do not connect the battery cable while installing the driver's seat position sensor.

1. Install the driver's seat position sensor (A) with a new TORX bolt (B) using a TORX T30 bit, and new nut (C).





2. Connect the driver's seat position sensor 2P connector (D) on the driver's seat wire harness.

3. Do the battery terminal reconnection procedure Procedures.

4. Clear any DTCs with the HDS Reading and Clearing Diagnostic Trouble Codes.

5. Check the operation of the driver's seat position sensor with the HDS Driver's Seat Position Sensor Operation Check.

6. Confirm proper SRS operation: Turn the ignition switch to ON (II), or press the engine start/stop button to select the ON mode, and check that the SRS indicator comes on for about 6 seconds and then goes off.

7. Reinstall all removed parts.