Curiosii for ever!: Car repair manuals for everyone.

Safing Sensor: Service and Repair




Rear Safing Sensor Replacement

Removal

1. Do the battery terminal disconnection procedure Procedures, then wait at least 3 minutes before starting work.

2. Remove the rear seat cushion Rear Seat Removal/Installation.

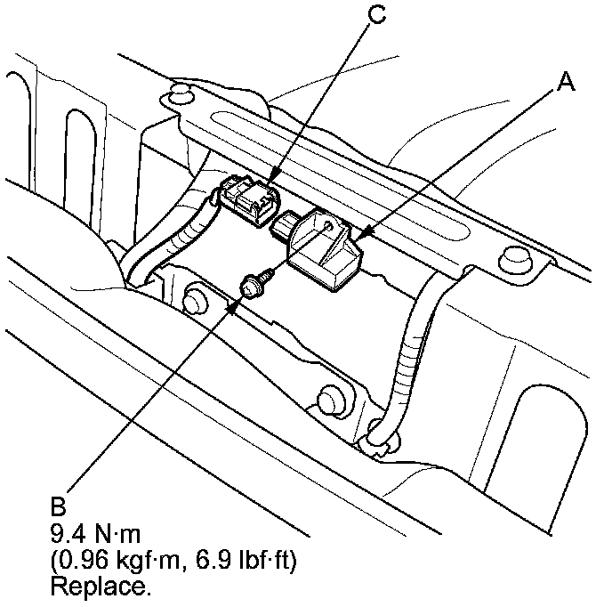
3. Turn over the carpet as needed, then disconnect the rear safing sensor 2P connector (A) on the floor wire harness.





4. Remove the TORX bolt (B) using a TORX T30 bit, then remove the rear safing sensor (C).

Installation

1. Install the rear safing sensor (A) with a new TORX bolt (B) using a TORX T30 bit. Connect the rear safing sensor 2P connector (C) on the floor wire harness.





2. Do the battery terminal reconnection procedure Procedures.

3. Clear any DTCs with the HDS Reading and Clearing Diagnostic Trouble Codes.

4. Confirm proper SRS operation: Turn the ignition switch to ON (II), or press the engine start/stop button to select the ON mode, and check that the SRS indicator comes on for about 6 seconds and then goes off.

5. Reinstall all removed parts.