Curiosii for ever!: Car repair manuals for everyone.

Dashlight Brightness Controller Switch Test/Replacement




Dashlight Brightness Controller Switch Test/Replacement

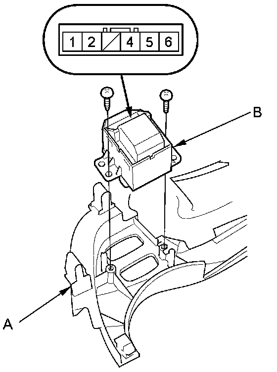
1. Remove the instrument fascia (A) Instrument Fascia Removal/Installation.





2. Remove the two screws and Dashlight brightness controller switch (B) from the instrument fascia.

3. Check for continuity between the terminals in each switch position according to the table.





4. If the continuity is not as specified or the LED does not turn on, replace the switch.