Curiosii for ever!: Car repair manuals for everyone.

Intake Manifold Removal/Installation




Intake Manifold Removal and Installation

Exploded View





NOTE: Disassemble the intake manifold as shown in the Exploded View.

Removal

1. Remove the engine cover.






2. Disconnect the breather pipe (A).





3. Remove the Intake air duct (B).

4. Disconnect the positive crankcase ventilation (PCV) hose (A), the brake booster vacuum hose (B), the vacuum hose (C), and the intake manifold tuning (IMT) actuator connector (D).






5. Disconnect the evaporative emission (EVAP) canister purge hose (A), the EVAP canister purge valve connector (B), the throttle actuator connector (C), and the manifold absolute pressure (MAP) sensor connector (D).





6. Disconnect and plug the water bypass hoses (E).

7. Remove the upper cover mounting bolts and nuts sequentially in three steps, then remove the upper cover (A).






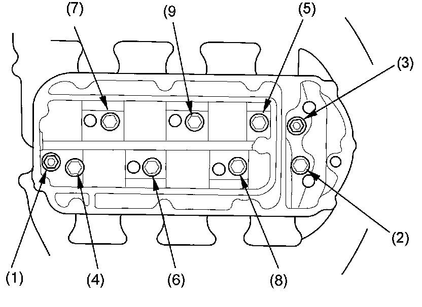
8. Remove the intake manifold mounting bolts and nuts sequentially in three steps.





9. Remove the intake manifold.

Installation

1. Install the intake manifold. Tighten the bolts and nuts sequentially in three steps. Always use a new intake manifold gasket.










2. Install the upper cover (A). Tighten the bolts and nuts sequentially in three steps. Always use a new gasket.










3. Connect the water bypass hoses (A).





4. Connect the MAP sensor connector (B), the throttle actuator connector (C), the EVAP canister purge valve connector (D), and the EVAP canister purge hose (E).

5. Connect the IMT actuator connector (A), the vacuum hose (B), the brake booster vacuum hose (C), and the PCV hose (D).






6. Install the intake air duct (A).

NOTE: When tightening the screw of the hose band (B), align the edge of the hose band (C) with the mark (D) painted on the hose band. If you tighten the screw over the mark, replace the hose band.





7. Connect the breather pipe (E).

8. Install the engine cover.






9. Clean up any spilled engine coolant.

10. After installation, check that all tubes, hoses, and connectors are installed correctly.

11. Refill the radiator with engine coolant, and bleed the air from the cooling system Service and Repair.