Curiosii for ever!: Car repair manuals for everyone.

AcuraLink Control Unit (XM Receiver) Removal/Installation




AcuraLink Control Unit (XM Receiver) Removal/Installation

With AcuraLink

1. Remove the passenger's rear side trim panel Interior Trim Removal/Installation - Rear Side Area.

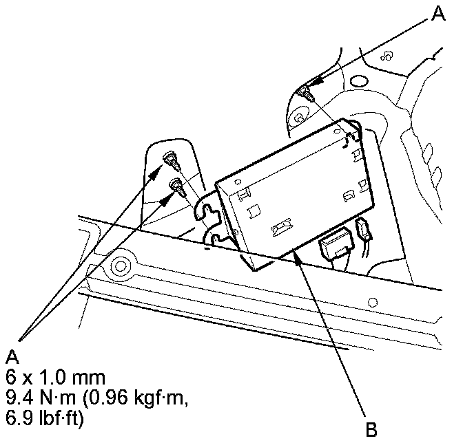
2. Loosen the nuts (A).





3. Pull the AcuraLink control unit (XM receiver) (B) out, then disconnect the connectors from the AcuraLink control unit (XM receiver), and remove it.

4. Install the AcuraLink control unit (XM receiver) in the reverse order of removal.

NOTE: If you replaced the AcuraLink control unit (XM receiver) make sure it has the latest software Programming and Relearning.

5. Call XM Radio 800-852-9696 to update the client's account with the new XM/HIP serial number. Also call Acura Client Services 800-382-2238 to reactivate the AcuraLink.