Curiosii for ever!: Car repair manuals for everyone.

Windshield: Service and Repair




Windshield Replacement

NOTE:

- Put on gloves to protect your hands.

- Wear eye protection while cutting the glass adhesive with a piano wire.

- Use seat covers to avoid damaging any surfaces.

- Glass adhesive can be efficiently cut with a commercially available auto glass tool. See the tool manufacturer's instructions for details.

1. Remove these items:
- Cowl cover Service and Repair

- Rearview mirror Rearview Mirror Replacement

- Front door opening seal, as needed Interior Trim Removal/Installation - Front Door Sill Area

- A-pillar trim, both sides Interior Trim Removal/Installation - A-Pillar Trim

- Windshield side trim, both sides Service and Repair

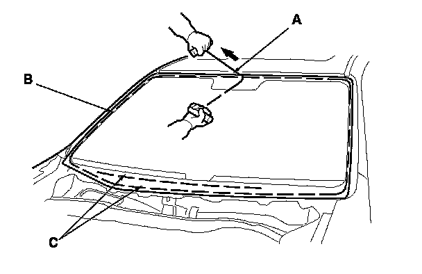
2. Remove the windshield molding (A) from the upper edge of the windshield (B). If necessary, cut the molding with a utility knife.

3. If the old windshield will be reinstalled, make alignment marks across the glass and the body with a grease pencil.

4. Pull down the front area of the headliner. Service and Repair Take care not to bend the headliner excessively, or you may crease or break it.

5. Apply protective tape along the edge of the dashboard and the body. Make a hole with an awl through the rubber dam and the adhesive from inside the vehicle at a corner area of the windshield. Push a piece of piano wire through the hole, and wrap each end around a piece of wood.






6. With a helper on the outside, pull the piano wire (A) back and forth in a sawing motion. Hold the piano wire as close to the windshield (B) as possible to prevent damage to the body and the dashboard. Carefully cut through the rubber dam and the adhesive (C) around the entire windshield.

7. Carefully remove the windshield.

8. Scrape smooth the old adhesive, using a putty knife or similar tool, until there is a thickness of about 2 mm (0.08 in) on the bonding surface around the entire windshield opening flange:
- Do not scrape down to the painted surface of the body; damaged paint will interfere with proper bonding.

- Remove the rubber dams from the body.

9. Clean the body bonding surface with a shop towel dampened in isopropyl alcohol. After cleaning, keep oil, grease, and water from getting on the clean surface.

10. If you are reinstalling the old windshield, use a putty knife to scrape off the old adhesive, the upper clips, and the rubber dams from the windshield. Clean the bonding surfaces on the inside face and the edge of the windshield with isopropyl alcohol. Make sure the bonding surface is kept free of water, oil, and grease.

11. Before installing a new windshield, attach a rearview mirror harness cover base to the inside face of the windshield. Rearview Mirror Harness Cover Base Replacement






Cutting positions





12. Apply glass primer to the upper clip mounting areas on the windshield (B), and let it dry. Remove the adhesive backing and attach the rubber dams A, the upper clips (C) and the dashboard seals (D) to the inside of the windshield as shown:
- Make sure the rubber dams, the upper clips, and the dashboard seals line up with the alignment marks (E).

- Be sure the index tabs (F) of the left and right clips face the right side.

- Be careful not to touch the windshield where the adhesive will be applied.





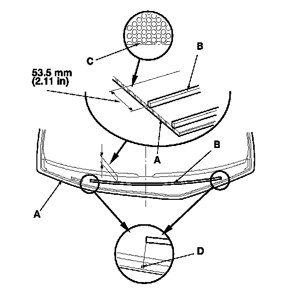
13. Attach rubber dam B with adhesive tape to the inside surface of the windshield (A) as shown, using the edge of the black ceramic-coated area (C) as a guide.
- Be sure the rubber dam lines up with the alignment marks (D).

- Be careful not to touch the windshield where the adhesive will be applied.





14. Attach the molding (A) with adhesive tape (B) to the upper edge of the windshield (C). Be careful not to touch the windshield where the adhesive will be applied.






15. Attach the windshield upper seal (A) with adhesive tape to the inside surface of the molding (B) as shown.






16. If you are installing a new windshield, set the windshield in the opening, and center it. Make alignment marks (A) across the windshield and the body with a grease pencil at the four points shown. Make sure the pins (B) of both upper clips (C) contact with the edge of the body holes. Be careful not to touch the windshield where the adhesive will be applied.

17. Remove the windshield.






18. Apply a light coat of glass primer to the windshield (A) along the edge of the molding (B) and the rubber dams (C) as shown, then lightly wipe it off with gauze or cheesecloth:
- Apply glass primer to the molding.

- Do not apply body primer to the windshield, and do not mix up the body primer applicators and the glass primer applicators.

- Never touch the primed surfaces with your hands. If you do, the adhesive may not bond to the windshield properly, causing a leak after the windshield is installed.

- Keep water, dust, and abrasive materials away from the primed surfaces.





19. Carefully apply a light coat of body primer to any exposed paint or metal on the windshield mounting flange. Let the body primer dry for at least 10 minutes:
- Do not apply body primer to any remaining old adhesive on the flange.

- Be careful not to mix up the body primer applicators and the glass primer applicators.

- Never touch the primed surfaces with your hands.

- Cover on the dashboard before applying the primer.





20. Cut a "V" in the end of the nozzle (A) on the adhesive cartridge as shown.






21. Put the cartridge in a caulking gun, and run a continuous bead of the adhesive (A) on the windshield (B) along the edge of the molding (C) and rubber dams (D) as shown. Apply the adhesive within 30 minutes after applying the glass primer. Make a slightly thicker bead at each corner.

22. Hold the windshield with suction cups over the opening, align it with the alignment marks made in step 16, and set it down on the adhesive. Lightly push on the windshield until its edges are fully seated on the adhesive all the way around.
NOTE: Do not open or close any of the doors for about an hour until the adhesive is dry.

23. Remove the excess adhesive with a putty knife or a shop towel dampened with isopropyl alcohol.

24. Wait at least an hour for the adhesive to dry, then spray water over the windshield and check for leaks. Mark leaking areas, and let the windshield dry, then seal with sealant. Let the vehicle stand for at least 4 hours after windshield installation. If the vehicle has to be used within the first 4 hours, it must be driven slowly.

25. Reinstall all remaining removed parts.
NOTE: Advise the client not to do the following things for 2 to 3 days:

- Slam the doors with all the windows rolled up.

- Twist the body excessively (such as when going in and out of driveways at an angle or driving over rough, uneven roads).