Curiosii for ever!: Car repair manuals for everyone.

Rear Door Window Regulator: Service and Repair




Rear Door Glass and Regulator Replacement

NOTE: Put on gloves to protect your hands.

1. Remove the door panel. Rear Door Panel Removal/Installation

2. Raise the glass fully.

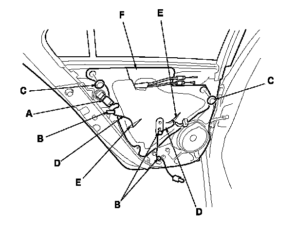
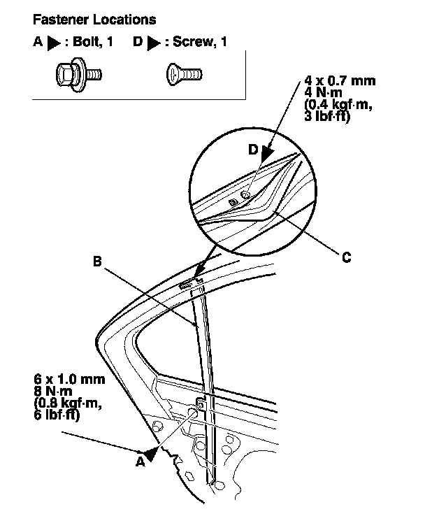
3. Remove the screws, then remove the door panel bracket (A).






4. Disconnect the power door lock actuator connector (A), and detach the harness clips (B). Remove the plug caps (C).

5. Pass the wire harnesses (D) through the slits (E) in the plastic cover (F), then remove the cover.
NOTE: If the plastic cover is damaged or torn, replace it with a new one.

6. Remove the door pad. Rear Door Pad Replacement






7. Lower the glass (A) until you can see the bolts, then remove them. Release the glass from the holder (B), then remove the glass from the regulator (C), and carefully lower the glass. Take care not to drop the glass inside the door.






8. Remove the bolt (A) from the rear lower channel (B). Pull the door weatherstrip (C) away as needed, and remove the screw (D).






9. Pull the glass run channel (A) away as needed. Pull the rear lower channel (B) forward from the quarter glass seal (C), then release the upper hook (D) from the door. Remove the rear lower channel from the door glass (E), then pull the channel up to remove it.






10. Remove the lower channel (A) from the glass run channel (B).






11. Carefully remove the glass (A) out through the window slot. Take care not to drop the glass inside the door.






12. Remove the quarter glass (A). Take care not to damage the door glass outer weatherstrip (B).






13. Disconnect the connector (A) from the regulator (B).

14. Remove the bolts (C), and loosen the bolt (D). Release the hook (E), then remove the regulator through the hole in the door.






15. Apply multipurpose grease to all the sliding surfaces of the regulator (A) where shown.

16. Install the glass and the regulator in the reverse order of removal, and note these items:
- If the clips are damaged or stress-whitened, replace them with new ones.

- Push the clips into place securely.

- Make sure the connector is plugged in properly.

- Adjust the position of the glass as necessary. Adjustments

- Roll the glass up and down to make sure it moves freely without binding.

- Make sure that there is no clearance between the glass and the glass run channel when the glass is closed.

- Make sure the plastic cover on the door is installed properly and sealed around its outside perimeter to seal out water.

- Check for water leaks. Adjustments

- Do the power window control unit reset procedure. Testing and Inspection

- Make sure the power door locks, the windows, and the power mirror operate properly.

- Test-drive the vehicle, and check for wind noise and rattles.