Curiosii for ever!: Car repair manuals for everyone.

Tire Pressure Module: Service and Repair




TPMS Control Unit Replacement

NOTE: Make sure the TPMS control unit mounting bracket is not bent or twisted as this may affect its communication with the initiators and the tire pressure sensors.

1. Turn the ignition switch to LOCK (0).

2. Remove the driver's dashboard undercover. Driver's Dashboard Undercover Removal/Installation

3. Remove the flange bolt (A), then remove the TPMS control unit (B) with the bracket (C).
NOTE: The TPMS control unit is located over the accelerator pedal module.

4. Disconnect the TPMS control unit connector (D).






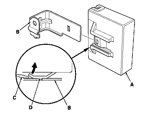
5. Remove the TPMS control unit (A) from the bracket (B).
NOTE: To disconnect the TPMS control unit from its bracket, insert a small flat-tipped screwdriver (C) between the TPMS control unit and the bracket to release the hook (D), then slide out the TPMS control unit.

6. Install the TPMS control unit in the reverse order of removal.
NOTE: Make sure the TPMS control unit is properly installed. You will hear a click when the TPMS control unit is securely mounted on the bracket.

7. Connect the HDS, and memorize the tire pressure sensor IDs. Testing and Inspection Do not memorize the IDs automatically.