Curiosii for ever!: Car repair manuals for everyone.

Condenser HVAC: Service and Repair




A/C Condenser Replacement

1. Recover the refrigerant with a recovery/recycling/charging station. A/C Refrigerant Recovery

2. Remove the front grille cover. Service and Repair

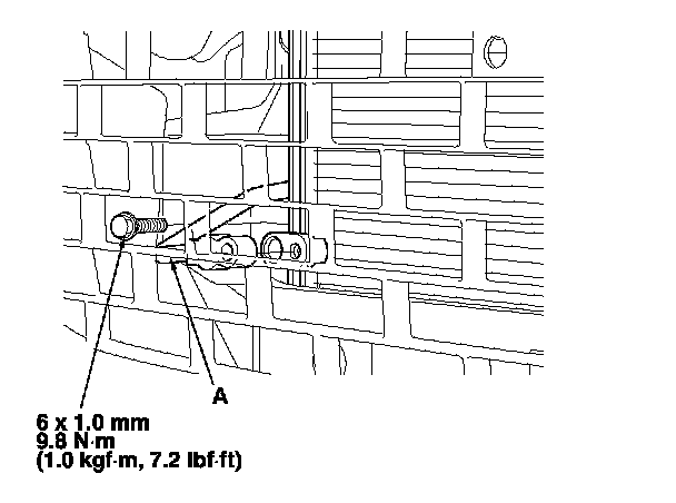
3. Remove the bolt, then disconnect the receiver pipe (A) from the A/C condenser.






4. Remove the bolts and the radiator upper mount brackets (A).






5. Remove the bolt, then disconnect the discharge hose (A) from the A/C condenser.






6. Remove the bolts, then remove the A/C condenser (A) by lifting it up. Be careful not to damage the radiator or A/C condenser fins when removing the A/C condenser.

7. Install the A/C condenser in the reverse order of removal, and note these items:
- If you're installing a new A/C condenser, add refrigerant oil (DENSO ND-OIL 8). Service and Repair

- Replace the O-rings with new ones at each fitting, and apply a thin coat of refrigerant oil before installing them. Be sure to use the correct O-rings for HFC-134a (R-134a) to avoid leakage.

- Immediately after using the oil, reinstall the cap on the container, and seal it to avoid moisture absorption.

- Do not spill the refrigerant oil on the vehicle; it may damage the paint; if the refrigerant oil contacts the paint, wash it off immediately.

- Be careful not to damage the radiator or the A/C condenser fins when installing the A/C condenser.

- Charge the system. A/C System Charging