Curiosii for ever!: Car repair manuals for everyone.

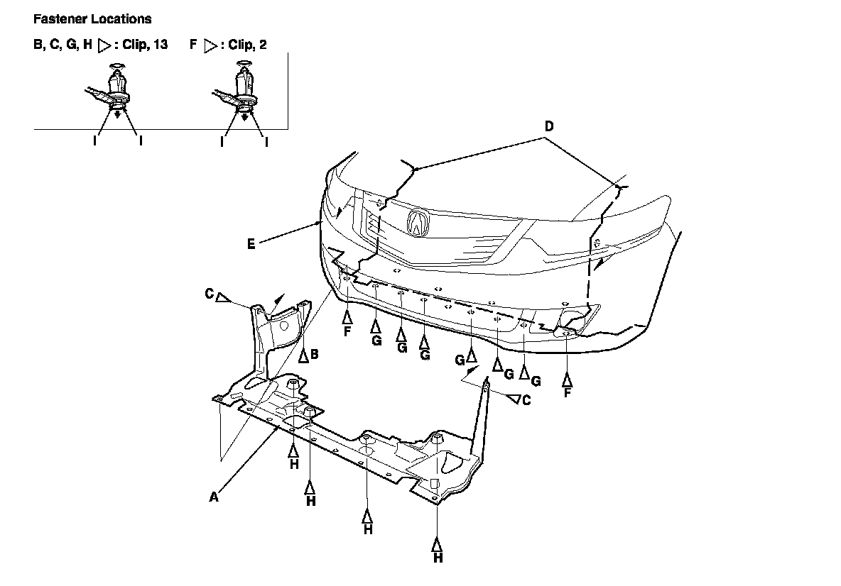
Front Splash Shield Replacement




Front Splash Shield Replacement

NOTE:

- Put on gloves to protect your hands.

- Take care not to scratch the body.

1. Remove the front splash shield (A).
-1 Remove the clip (B) that secures the front splash shield to the body.
Remove the clips (C) that secure the front inner fender (D) and the front splash shield to the body.
-3 From under the front bumper (E), remove the clips (F) that secure the front bumper, the front inner fender, and the front splash shield to the body.
From under the front bumper, remove the clips (G) that secure the front bumper and the front splash shield to the body.
-5 From under the body, remove the clips (H) that secure the front splash shield (and the plate) to the front subframe.
NOTE: Release the clips, by prying up on the center pin at the notch (I).

2. Install the splash shield in the reverse order of removal, and note these items:
- If the clips are damaged or stress-whitened, replace them with new ones.

- Push the clips into place securely.