Curiosii for ever!: Car repair manuals for everyone.

Shift Cable: Service and Repair




A/T Shift Cable Replacement

1. Remove the center console. Center Console Removal/Installation

2. Move the shift lever to R.

3. Remove the nut securing the shift cable end.






4. Unlock the retainer (A).






5. Rotate the socket holder retainer (A) counterclockwise (B) until it stops, and push the retainer lock (C) into the socket holder retainer to lock the retainer.






6. Slide the socket holder (A) away from the bracket as shown to remove the shift cable (B) from the shift cable bracket (C).
Do not remove the shift cable by pulling the shift cable guide (D).

7. Raise the vehicle on a lift, or apply the parking brake, block the rear wheels, and raise the front of the vehicle. Make sure it is securely supported.






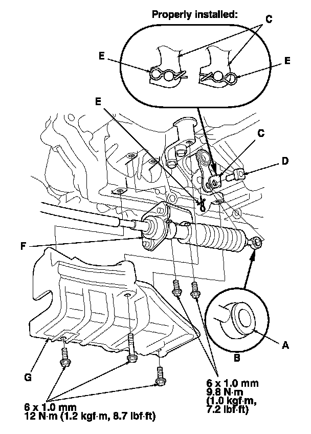
8. Remove the shift cable cover (A).

9. Remove the spring clip (B) and the control pin (C), and separate the shift cable end (D) from the selector control lever (E). Remove the shift cable bracket (F).






10. Remove the heat shield.






11. Remove the bolts securing the shift cable bracket (A).

12. Remove the shift cable grommet (B), and pull out the shift cable (C).

13. Insert a new shift cable through the grommet hole (D), and install the grommet in its hole. Do not bend the shift cable excessively.

14. Secure the shift cable bracket with the bolt.

15. Install the heat shield.






16. Apply molybdenum grease to the hole in the bushing (A) in the shift cable end (B). Attach the shift cable end to the selector control lever (C), then insert the control pin (D) into the selector control lever hole through the shift cable end, and secure the control pin with the spring clip (E). Do not bend the shift cable excessively.

17. Install the shift cable bracket (F).

18. Install the shift cable cover (G).

19. Install the shift cable on the shift lever, and adjust the shift cable. Adjustments