Curiosii for ever!: Car repair manuals for everyone.

Rear Power Window Switch Replacement




Rear Power Window Switch Replacement

1. Remove the rear door armrest Rear Door Panel Removal/Installation.

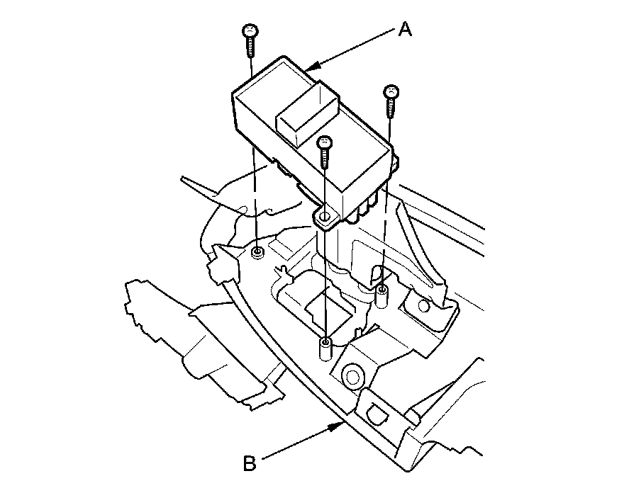
2. Remove the three screws and rear power window switch (A) from the armrest assembly (B).





3. Install the switch in the reverse order of removal.