Curiosii for ever!: Car repair manuals for everyone.

Power Window Master Switch Replacement




Power Window Master Switch Replacement

1. Remove the driver's door armrest Front Door Panel Removal/Installation.

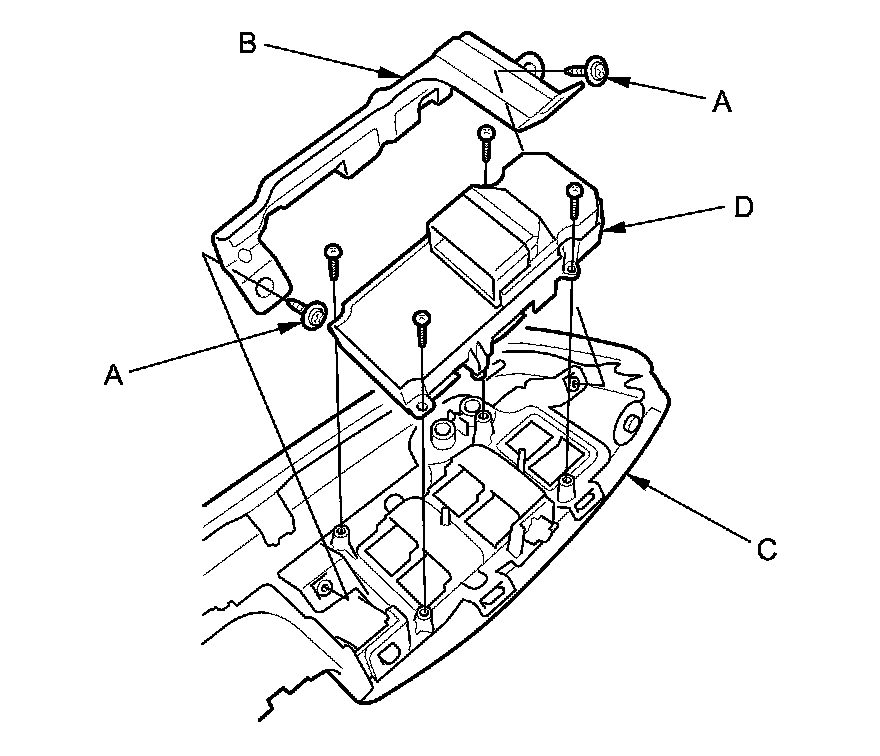
2. Remove the two screws (A), then remove the bracket (B) from the armrest assembly (C).





3. Remove the four screws and the power window master switch (D).

4. Install the switch in the reverse order of removal.

5. After replacement, reset the power window control unit Testing and Inspection.