Curiosii for ever!
: Car repair manuals for everyone.
Home
>>
Acura
>>
2010
>>
TL AWD V6-3.7L
>>
Repair and Diagnosis
>>
Specifications
>>
Mechanical Specifications
>>
Engine
>>
Cylinder Block Assembly
>>
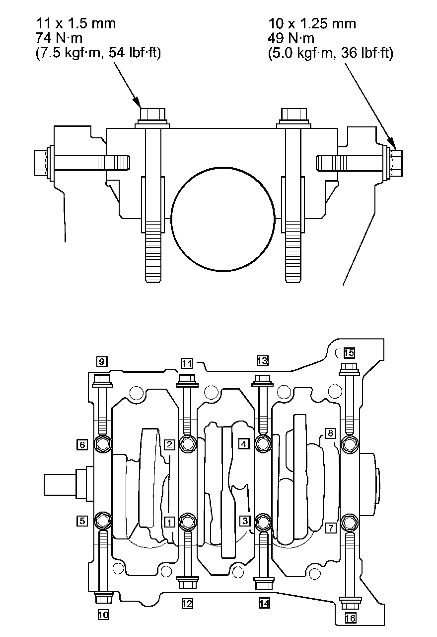
Crankshaft Main Bearing
Crankshaft Main Bearing
Crankshaft
bearing
Crankshaft
bearing
Main bearing cap
Repeat the torque sequence again to ensure the bolts are properly torqued
Size code chart