Power and Ground Distribution: Testing and Inspection
Power Relay Test
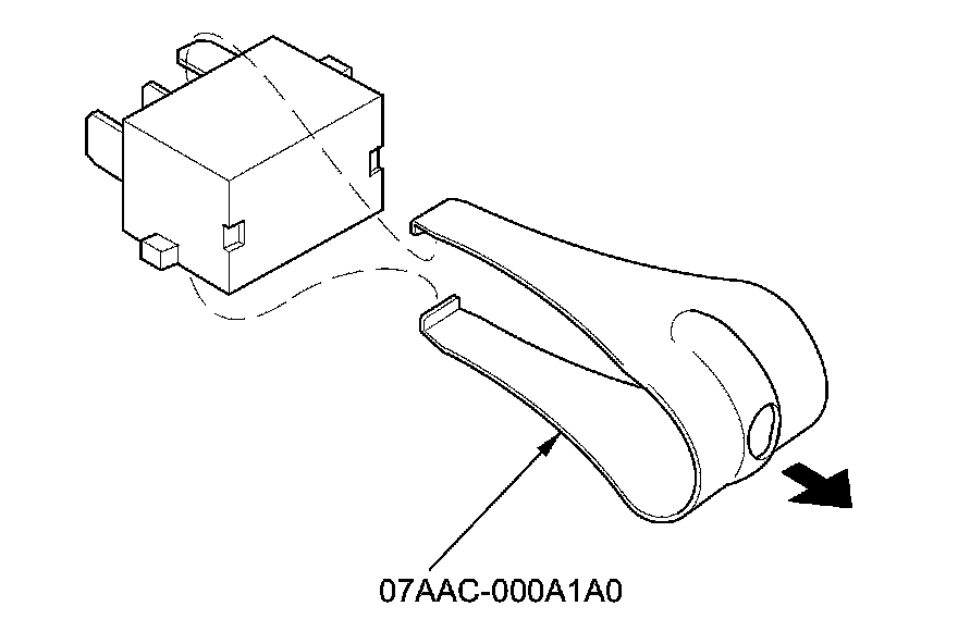
Special Tools Required
- Relay Puller 07AAC-000A1A0
Use this chart to identify the type of relay, then do the test listed for it.
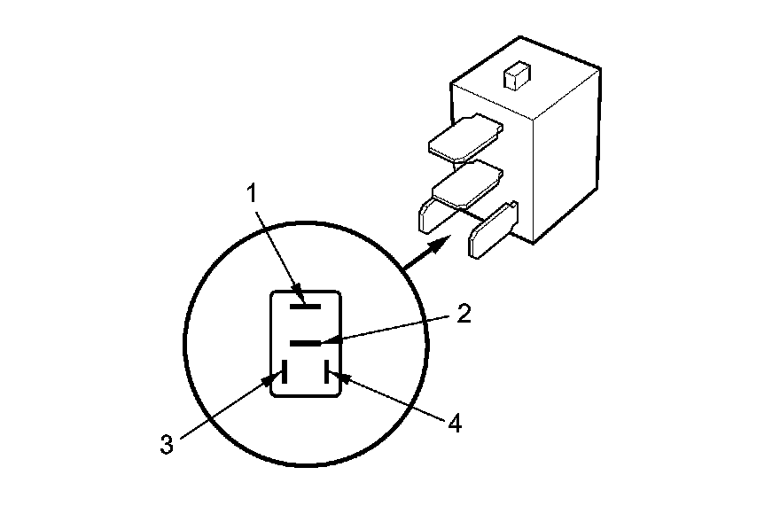
Normally-open Four-terminal Type
Check for continuity between the terminals:
- There should be continuity between terminals No. 1 and No. 2 when battery power is connected to terminal No. 4, and body ground is connected to terminal No. 3.
- There should be no continuity between terminals No. 1 and No. 2 when power is disconnected.
Five-terminal Type
Check for continuity between the terminals:
- There should be continuity between terminals No. 1 and No. 2 when battery power is connected to terminal No. 5, and body ground is connected to terminal No. 3.
- There should be continuity between terminals No. 1 and No. 4 when power is disconnected.
Relay Circuit Board Test
The relay circuit board is part of the under-hood fuse/relay box, and it contains these relays:
- Radiator fan relay
- Fan control relay
- Horn relay
- Windshield wiper motor relay
- Windshield wiper intermittent relay
- Windshield wiper high/low relay
1. Do the battery terminal disconnection procedure Procedures.
2. Disconnect under-hood fuse/relay box connectors B (14P) and C (5P).
3. Test each relay circuit as shown:
Radiator fan relay:
There should be continuity between terminals C1 and C3 when battery power is connected to terminal B9, and body ground is connected to terminal B10. There should be no continuity between terminals C1 and C3 when power is disconnected.
Fan control relay:
There should be continuity between terminals C2 and C5 when battery power is connected to terminal B1 (or B8), and body ground is connected to terminal B10. There should be no continuity between terminals C2 and C5 when power is disconnected.
Horn relay:
There should be battery voltage at terminal B11 when battery power is connected to terminal B3, and body ground is connected to terminal B7. There should be no continuity between terminals B3 and B11 when power is disconnected.
Windshield wiper motor relay:
There should be continuity between terminals C4 and B13, and terminals C4 and B14 when battery power is connected to terminal B12, and body ground is connected to terminal B4. There should be no continuity between terminals C4 and B13, and terminals C4 and B14 when power is disconnected.
Windshield wiper intermittent relay:
There should be battery voltage at terminal B6 when battery power is connected to terminals C4 and B12, and body ground is connected to terminals B4 and B13. There should be no voltage at terminal B6 when terminal B13 is disconnected.
Windshield wiper high/low relay:
There should be battery voltage at terminal B5 when battery power is connected to terminals C4 and B12, and body ground is connected to terminals B4 and B14. There should be no voltage at terminal B5 when terminal B14 is disconnected.
4. If any of these relay circuit fails the test, replace the relay circuit board.
5. Reinstall all removed parts.
6. Do the battery terminal reconnection procedure Procedures.