Curiosii for ever!: Car repair manuals for everyone.

Power Mirror Switch Test/Replacement




Power Mirror Switch Test/Replacement

1. Remove the driver's door panel Front Door Panel Removal/Installation.

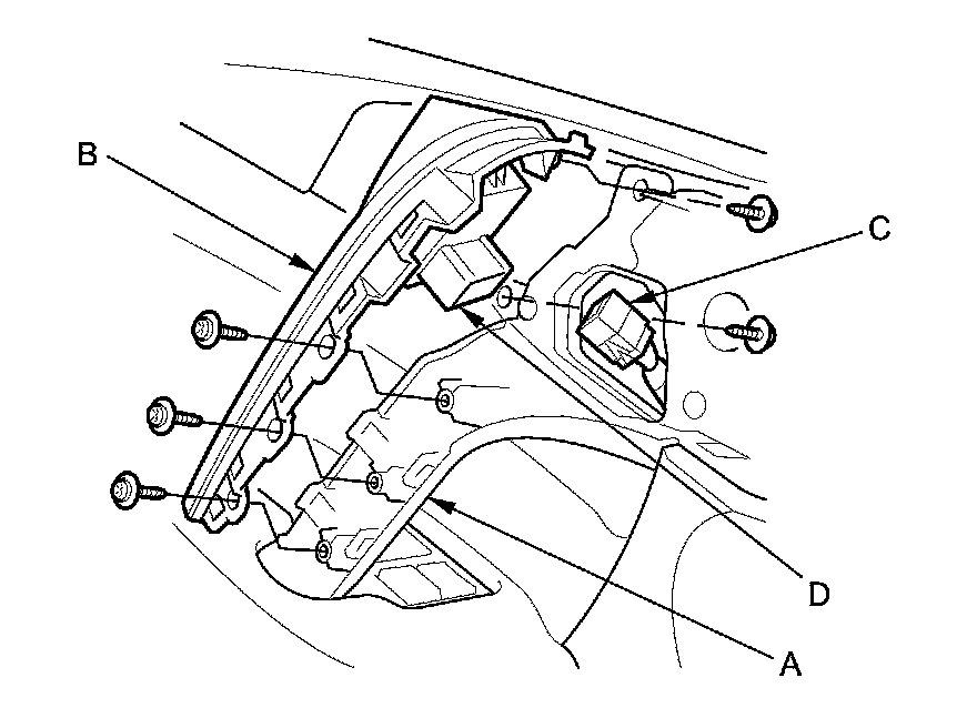
2. Remove the screws from the driver's door grip (A) and grip cover (B).





3. Pull out the grip cover slightly from the door grip, then disconnect the 13P connector (C) from the power mirror switch (D).

4. Remove the two screws and the power mirror switch (A) from the grip trim (B).






5. Check for continuity between the terminals in each switch position according to the table.





6. If the continuity is not as specified, replace the power mirror switch.

7. Install the switch in the reverse order of removal.