Curiosii for ever!: Car repair manuals for everyone.

Rearview Mirror Replacement




Rearview Mirror Replacement

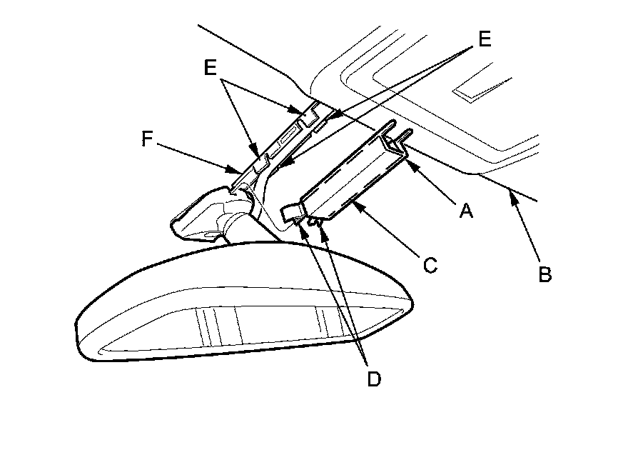
1. Slide the rearview mirror harness upper cover (A) forward to release it from the headliner (B). Pry out the rearview mirror harness lower cover (C) to release the hooks (D), then slide the lower cover rearward, and remove the lower cover by releasing the hooks (E) on the rearview mirror harness cover base (F).






2. Disconnect the rearview mirror connector (A).






3. Loosen the TORX screw with a TORX T20 bit, then slide the rearview mirror (A) rearward and off the mount (B).





4. Install the mirror in the reverse order of removal, and note these items:

- Before installing the mirror, remove the TORX screw, and apply medium strength liquid thread lock to it.
- Make sure the connector is plugged in properly.
- Push the hooks into place securely.