Curiosii for ever!: Car repair manuals for everyone.

A/T System Description - Electronic Control System




A/T System Description - Electronic Control System

Electronic Control System

Electronic Control

The electronic control system consists of the powertrain control module (PCM), the sensors, and the seven solenoid valves. Shifting and lock-up are electronically controlled for comfortable driving under all conditions.

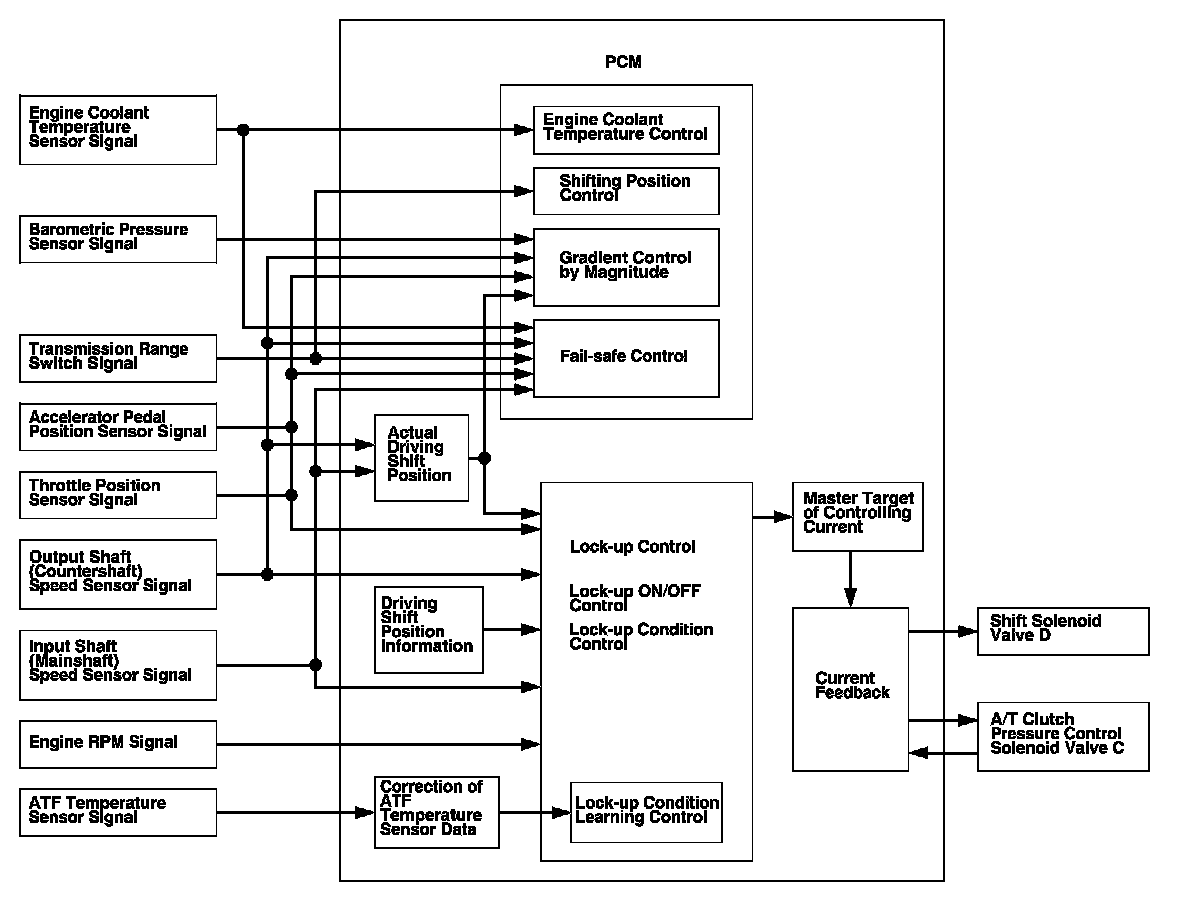
Functional Diagram

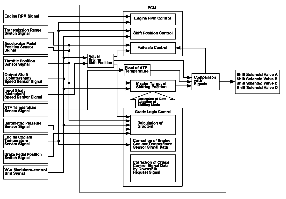
The PCM receives input signals from the sensors, the switches, and other control units then processes the data, and sends output signals to the engine control system and the A/T control system. The A/T control system includes shift control, clutch pressure control, and lock-up control. The PCM switches the shift solenoid valves and the A/T clutch pressure control solenoid valves on and off to control gear selection and torque converter clutch lock-up.






Shift Control

The PCM instantly determines which gear should be selected by various signals sent from the sensors and the switches, and it actuates the shift solenoid valves A, B, C, and D to control gear selection.

There are two types of shift solenoid valves:

- Shift solenoid valves A and D use the ON-OPEN/OFF-CLOSE type; the shift solenoid valve opens the port of shift solenoid valve pressure while the shift solenoid valve is turned ON by the PCM, and closes the port when shift solenoid valve is OFF.

- Shift solenoid valves B and C use the ON-CLOSE/OFF-OPEN type; the shift solenoid valve closes the port of shift solenoid valve pressure while the shift solenoid valve is turned ON by the PCM, and opens the port when shift solenoid valve is OFF.

The combination of driving signals to shift solenoid valves A, B, C, and D are shown in the table.





Electronic Control System (cont'd)

Shift Control - Grade Logic Control

The grade logic control system is used to control shifting in D, and in S with automatic shift mode. The PCM compares actual driving conditions with programmed driving conditions, based on the input from the throttle position sensor, the engine coolant temperature sensor, the barometric pressure sensor, the brake pedal position switch signal, and the shift lever position signal, to control shifting while the vehicle is ascending or descending a slope.






Grade Logic Control: Ascending Control

When the PCM determines that the vehicle is climbing a hill in D, and in S with automatic shift mode, the system extends the engagement area of 2nd gear, 3rd gear, and 4th gear to prevent the transmission from frequently shifting between 2nd and 3rd gears, between 3rd and 4th gears, and between 4th and 5th gears, so the vehicle can run smoothly and have more power when needed.

NOTE: Shift commands stored in the PCM between 2nd and 3rd gears, between 3rd and 4th gears, and between 4th and 5th gears, enable the PCM to automatically select the most suitable gear based on the steepness of the grade.






Grade Logic Control: Descending Control

When the PCM determines that the vehicle is going down a hill in D, and in S with automatic shift mode, the upshift speed from 4th to 5th gear, 3rd to 4th gear, and from 2nd to 3rd (when the throttle is closed) becomes higher than the set speed for flat road driving to extend the 4th gear, 3rd gear, and 2nd gear driving areas. This, in combination with engine braking from the deceleration lock-up, achieves smooth driving when the vehicle is descending. There are three descending modes with different 4th gear driving areas, 3rd gear driving areas, and 2nd gear driving areas based on the steepness of the grade stored in the PCM. When the vehicle is in 5th or 4th gear and you are decelerating while applying the brakes on a steep hill, the transmission downshifts to a lower gear. When you accelerate, the transmission then returns to a higher gear.






Electronic Control System (cont'd)

Deceleration Control

When the vehicle goes around a corner and needs to decelerate first and then accelerate, the PCM goes into the deceleration control mode to reduce the number of times the transmission shifts. When the vehicle is decelerating from speeds above 27 mph (43 km/h), the PCM shifts the transmission from 4th to 3rd earlier than normal to cope with upcoming acceleration.

Shift-Hold Control

When negotiating winding roads, the throttle is suddenly released and the brakes are applied, as is the case when decelerating at the entrance of a corner, Shift-Hold Control keeps the transmission in its current (lower) gear as it negotiates the corner and accelerates out.

When the vehicle is driven aggressively on a winding road, the PCM extends the engagement time of 3rd gear and 4th gear to prevent the transmission from frequently shifting between 3rd, 4th, and 5th gears. This allows the driver to have more control for both acceleration and deceleration.

The PCM monitors the average change in vehicle speed and throttle over time. When these values exceed those for normal driving conditions, the upshift from 3rd to 4th gear and 4th to 5th gear is delayed. This gives more control over power, and engine braking when the driver is driving aggressively around winding roads. The transmission resumes the normal upshift pattern after the PCM determines that normal driving has resumed.






Shift Control - Manual Shift Mode

The RL transmission is provided with a D-paddle shift mode in D, and with a sequential SportShift mode in S. Either mode can be activated by pressing the paddle shifter + (upshift switch) or paddle shifter - (downshift switch) while driving with the shift lever in D and S.

D-Paddle Shift Mode

To engage the D-paddle shift mode, press either of the steering wheel mounted paddle shifters while driving in the D position. In this mode, the transmission can downshift by pressing the paddle shifter - or upshift by pressing the paddle shifter +. Each time the transmission is shifted using the paddles, the shift indicator in the gauge control module displays the current position. The display turns off when the transmission upshifts or downshifts automatically while coasting.

The transmission stays in 5th gear if the paddle shifter + is pressed when driving in 5th gear, and the shift indicator displays "5" for 2 seconds, then goes off. The transmission stays in 1st gear if the paddle shifter - is pressed when driving in 1st gear, and the shift indicator displays "1" for 2 seconds, then goes off.

The transmission stays in the current gear and does not upshift to the next higher gear if the paddle shifter + is pressed while driving below the minimum allowable speed, and the shift indicator blinks the number of the next higher gear several times, then returns to the number of the current gear.






Electronic Control System (cont'd)

S Position Automatic Shift Mode and Sequential SportShift Mode

The S position has two shifting modes; the automatic shift mode and the sequential SportShift mode. In the S position automatic shift mode, the transmission upshifts and downshifts automatically from 1st through 4th gear, and the paddle shifters are ready to be activated to switch to the sequential SportShift mode. In the automatic shift mode, the shift indicator and the M indicator in the gauge control module do not come on.

When the paddle shifter + (upshift switch) or paddle shifter - (downshift switch) is pressed, the automatic shift mode is canceled and the sequential SportShift mode comes into operation. The shift indicator displays the number of the selected gear, and the M indicator comes on. In the sequential SportShift mode, the driver can shift up and down manually from 1st through 5th gear by using the paddle shifters, much like a manual transmission. The paddle shifters are installed on the back of the steering wheel, and the driver can shift gears by pressing the paddle shifters without taking either hand off the steering wheel.

In the sequential SportShift mode, the transmission must be shifted up and down by pressing the paddle shifters.

However, if the vehicle is coasting at a speed that would cause the engine to over-rev by downshifting, the transmission will not shift when the paddle shifter - is pressed. The shift indicator blinks the number of the selected stage position several times, then returns to the current stage. If the vehicle speed reaches an appropriate speed while the shift indicator is blinking, the transmission downshifts and the shift indicator displays the selected stage. Likewise, if the vehicle is driving below an appropriate speed to upshift when the paddle shifter + is pressed, the transmission will not shift. The shift indicator blinks the number of the selected stage several times, and then returns to the number of the current stage. If the vehicle speed reaches an appropriate upshift speed while the shift indicator is blinking, the transmission upshifts and the shift indicator displays the selected stage.

This mode has automatic downshifting areas so the vehicle can run smoothly with more power to cope with upcoming acceleration. When coasting in 5th gear or 4th gear, the transmission downshifts to the next lower gear if the vehicle slows down to the programmed speed, or by pressing the brake pedal.

When the transmission decelerates to a stop, the transmission shifts to 1st gear automatically. The transmission can be shifted to 2nd gear by pressing the paddle shifter + while the vehicle is stopped, and the vehicle can start off in 2nd gear.

The sequential SportShift mode is canceled when moving the shift lever to any position other than S.






Clutch Pressure Control

The PCM actuates A/T clutch pressure control solenoid valves A, B, and C to control the clutch pressure. When shifting between gears, the clutch pressure regulated by A/T clutch pressure control solenoid valves A, B, and C engages and disengages the clutch smoothly.

The PCM receives input signals from the various sensors and switches, processes the data, and outputs current to A/T clutch pressure control solenoid valves A, B, and C.






Electronic Control System (cont'd)

Lock-up Control

Shift solenoid valve D controls the hydraulic pressure to switch the lock-up shift valve and lock-up ON and OFF. When the PCM actuates the shift solenoid valve D and A/T clutch pressure control solenoid valve C ON, lock-up starts. A/T clutch pressure control solenoid valve C regulates and applies hydraulic pressure to the lock-up control valve to control the amount of lock-up.

The lock-up mechanism operates in 2nd, 3rd, 4th, and 5th gears in D and S with sequential SportShift mode, and 3rd and 4th gears in S with automatic shift mode.






Shift Lock Control

The shift lock control system reduces the risk of the unintentional engine starting. Starting the engine is possible only in P and N, and the shift lever cannot be shifted out of P without pressing the brake pedal and releasing the accelerator. The shift lock mechanism consists of the shift lock solenoid, shift lock stop, shift lock release, and reated parts. The shift lock solenoid is electronically controlled by the shift lock control system signals.

In P without pressing the brake pedal or while pressing the accelerator, the shift lock solenoid remains OFF, and the shift lever cannot be shifted out of P because the shift lock stops the lock pin. However while the brake pedal is pressed and the accelerator is released, the shift lock solenoid is turned ON, and the shift lock solenoid plunger is retracted, releasing the shift lock stop. Pushing the release button on the top of the shift lever passes the lock pin through the shift lock stop, and allows the shift lever to be shifted out of P.






Electronic Control System (cont'd)

Shift Lock Control (cont'd)

When a shift lock control system malfunction or a mechanical problem occurs, the shift lever can be shifted out of P temporarily by pressing the shift lock release with the built-in key or a screwdriver. Pushing the shift lock release releases the shift lock stop, and allow the shift lever to be shifted out of P.






Self-diagnosis

If the PCM detects the failure of a signal from a sensor, a switch, a solenoid valve, or from another control unit, it stores a Pending or Confirmed DTCs. Depending on the failure, a Confirmed DTC is stored in either the first or the second drive cycle. When a DTC is stored, the PCM blinks the D indicator and/or turns on the malfunction indicator lamp (MIL) by a signal sent to the gauge control module via F-CAN.

- One Drive Cycle Detection Method
When an abnormality occurs in the signal from a sensor, a switch, a solenoid valve, or from another control unit, the PCM stores a Confirmed DTC for the failure and blinks the D indicator and/or turns on the MIL immediately.

- Two Drive Cycle Detection Method
When an abnormality occurs in the signal from a sensor, a switch, a solenoid valve, or from another control unit in the first drive cycle, the PCM stores a Pending DTC. The D indicator and the MIL do not turns on at this time. If the failure continues in the second drive cycle, the PCM stores a Confirmed DTC and blinks the D indicator and/or turns on the MIL.

Fail-safe Function

When an abnormality occurs in the signal from a sensor, a switch, a solenoid valve, or from another control unit, the PCM ignores that signal and substitutes a pre-programmed value for that signal to allow the automatic transmission to continue operating. This causes a DTC to be stored and the D indicator to blink and/or the MIL to come on. The transmission may not shift normally during fail-safe operation. Do not run the test driving diagnosis when the MIL is ON, or the D indicator is blinking.

Electronic Control System (cont'd)

PCM A/T Control System Electrical Connections





PCM A/T Control System Inputs and Outputs






PCM CONNECTOR A (31P)





PCM CONNECTOR B (24P)





PCM CONNECTOR C (22P)





Electronic Control System (cont'd)

PCM A/T Control System Inputs and Outputs (cont'd)






PCM CONNECTOR C (22P)









PCM CONNECTOR D (17P)





PCM CONNECTOR E (31P)