Curiosii for ever!: Car repair manuals for everyone.

Power Relay Test




Power Relay Test

Special Tools Required

- Relay puller 07AAC-000A1A0
Use this chart to identify the type of relay, then do the test listed for it.

NOTE: For the turn signal/hazard relay 1 input test. Turn Signal/Hazard Relay 1 Input Test





*: Carefully remove the relay from the fuse/relay box using the relay puller. Do not use pliers. Pliers will damage the relay.






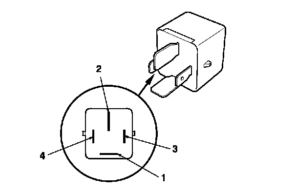
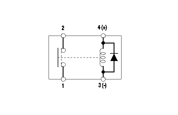
Normally-open Four-terminal Type A

Check for continuity between the terminals.

- There should be continuity between terminals No. 1 and No. 2 when battery positive terminal is connected to terminal No. 4, and battery negative terminal is connected to terminal No. 3.

- There should be no continuity between terminals No. 1 and No. 2 when power is disconnected.













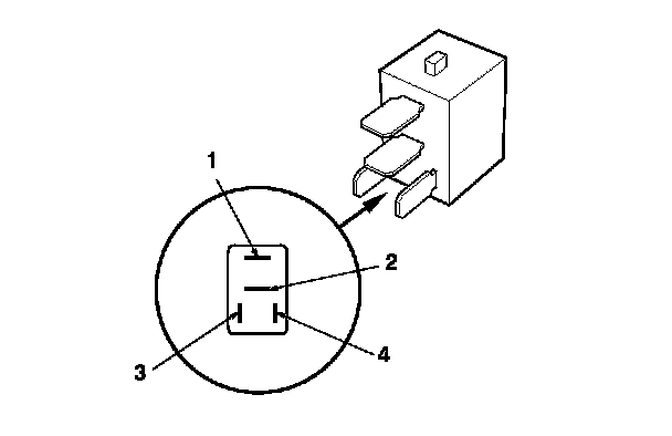
Normally-open Four-terminal Type B

Check for continuity between the terminals.

- There should be continuity between terminals No. 1 and No. 3 when battery positive terminal is connected terminal No. 2, and battery negative terminal connected to terminal No. 4.

- There should be no continuity between terminals No. 1 and No. 3 when power is disconnected.









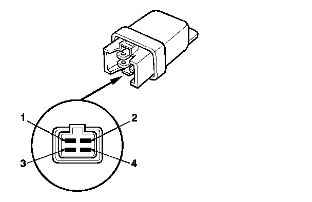
Normally-open Four-terminal Type C

Check for continuity between the terminals.

- There should be continuity between terminals No. 4 and No. 2 when battery positive terminal is connected to terminal No. 3, and battery negative terminal is connected to terminal No. 1.

- There should be no continuity between terminals No. 4 and No. 2 when power is disconnected.









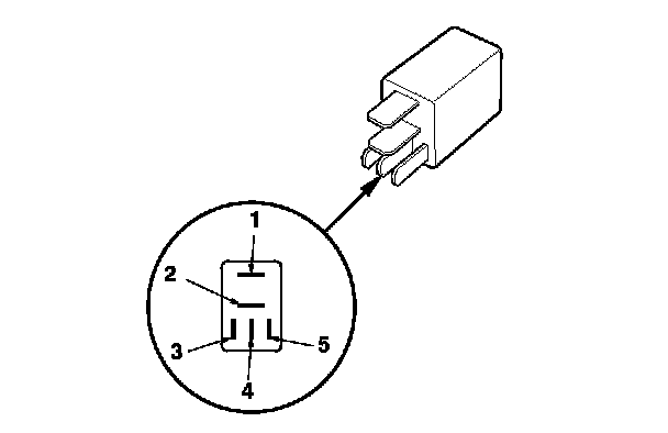
Five-terminal Type B

Check for continuity between the terminals.

- There should be continuity between terminals No. 1 and No. 2 when power is connected to terminal No. 5, and ground to terminal No. 3.

- There should be continuity between terminals No. 1 and No. 4 when power is disconnected.









Turn Signal/Hazard Relay 2 (sounder)

Check for a sound from the turn signal/hazard relay 2. The relay should sound once when power and ground are connected to terminals No. 2 and No. 1, and terminals No. 3 and No. 1.