Curiosii for ever!: Car repair manuals for everyone.

Splash Guard: Service and Repair




Splash Shield Replacement

Special Tools Required

- Push pin puller 07AAC-SJAA100
NOTE:

- Use the special tool to remove the clips.

- Take care not to scratch the body.

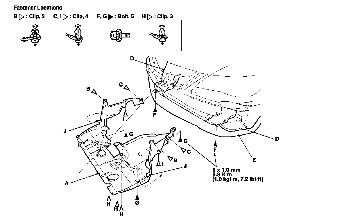
1. Remove the splash shield (A).
-1 Remove the clips (B, C) that secure the front inner fender (D) and the splash shield to the body.
From under the front bumper (E), remove the bolts (F) (with engine undercover).
-3 From under the body, remove the bolts (G) and the clips (H, I).
Release the hooks (J) of the splash shield, then pull the splash shield out.

2. Install the splash shield in the reverse order of removal, and note these items:
- If the clips are damaged or stress-whitened, replace them with new ones.

- Push the clips into place securely.