Curiosii for ever!: Car repair manuals for everyone.

Steering Column Lock: Service and Repair




Steering Lock Replacement

1. Remove the steering column. Steering Column Removal and Installation

2. Center-punch both of the shear bolts, and drill their heads off with a 5 mm (3/16 in) drill bit. Be careful not to damage the steering lock when removing the shear bolts.

3. Remove the shear bolts from the steering lock.

4. Remove the immobilizer-keyless control unit from the steering lock, Service and Repair then install it to new steering lock.

5. Install the steering lock without the key inserted.

6. Loosely tighten the new shear bolts.

7. Insert the ignition key, and check for proper operation of the steering wheel lock and that the ignition key turns freely.






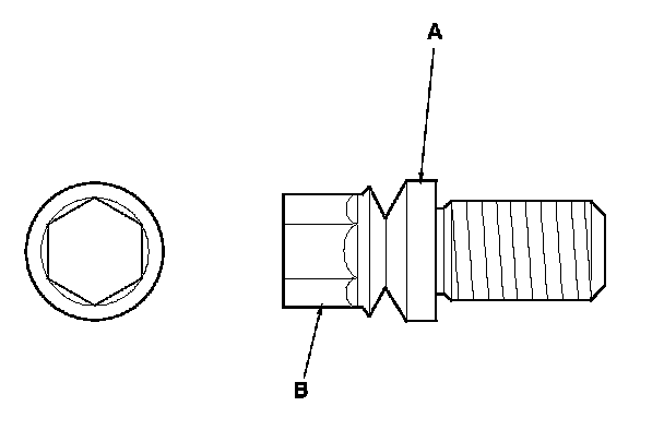
8. Tighten the shear bolts (A) until the hex heads (B) twist off.

9. Rewrite the all new keys to immobilizer-keyless control unit Programming and Relearning, and make sure the immobilizer system works properly.

10. Install the steering column. Steering Column Removal and Installation