Curiosii for ever!: Car repair manuals for everyone.

Console Accessory Power Socket Test/Replacement




Console Accessory Power Socket Test/Replacement

NOTE: If all the front and console accessory power sockets do not work, check the No. 18 (7.5 A) fuse in the driver's under-dash fuse/relay box and ground (G503) first.

1. Remove the center console panel. Center Console Panel Removal/Installation

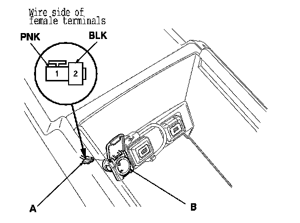
2. Disconnect the 2P connector (A) from the console accessory power socket (B).

3. Inspect the connector terminals to be sure they are all making good contact.
- If the terminals are bent, loose, or corroded, repair them as necessary and recheck the system.

- If the terminals look OK, go to step 4.

4. Turn the ignition switch to ACC (I).

5. Measure the voltage between console accessory power socket relay terminal No. 3 and body ground. There should be less than 0.2 V.
- If there is less than 0.2 V, go to step 6.

- If there is more than 0.2 V, check for:
- An open in the wire between console accessory power socket relay terminal No. 3 and body ground (G503).

- Poor ground (G503).

6. Measure the voltage between console accessory power socket 2P connector terminal No. 1 and body ground. There should be battery voltage.
- If there is battery voltage, go to step 7.

- If there is no voltage, check for:
- Blown No. 12 (20 A) fuse in the passenger's under-dash fuse/relay box.

- Faulty console accessory power socket relay.

- An open in the wire between console accessory power socket relay terminal No. 1 and console accessory power socket 2P connector terminal No. 1.

7. Check for continuity between console accessory power socket 2P connector terminal No. 2 and body ground. There should be continuity.
- If there is continuity, go to step 8.

- If there is no continuity, check for:
- Poor ground (G503).

- An open in the wire between the front accessory power socket 2P connector terminal No. 2 and body ground (G503).





8. Remove the socket (A).






9. Remove the housing (A) from the panel.

10. Install the power socket in the reverse order of removal.