Curiosii for ever!: Car repair manuals for everyone.

Console Armrest Removal/Installation




Console Armrest Removal/Installation

Special Tools Required

- KTC trim tool set SOJATP2014*
*Available through the Acura Tool and Equipment Program

NOTE:
- Take care not to scratch the console.

- Use the appropriate tool from the KTC trim tool set to avoid damage when removing components.

1. Remove the center console. Center Console Removal/Installation

2. Remove the screws. Pull up the center trim (A) to detach the clips and to release the hook (B), then remove the trim.






3. Remove the screws securing the driver's side panel (A) and the passenger's side panel (B) from the console box (C). Slide the driver's side panel and the passenger's side panel forward to release the ribs (D) of the panels from the hooks (E), then remove the side panels.






4. Remove the screws. Remove the left box rail (A) and the right box rail (B) by pulling them up from the console box (C) while releasing the hooks (D).

5. Close the console armrest, and slide it fully forward.






6. Remove the screw securing the opening spring (A).






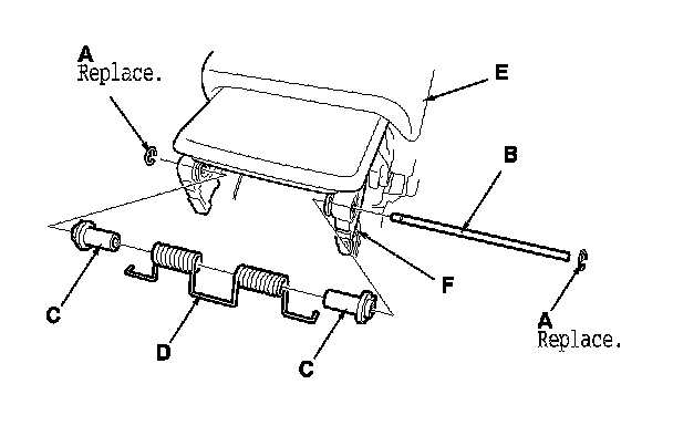
7. Remove the E-clips (A), the hinge pin (B), the hinge bushings (C), and the opening spring (D) from the console armrest (E) and the console box (F).






8. Open the console armrest (A), and while releasing the gear areas (B) of both sides from the dampers (C) of the console box (D), remove the armrest.






9. If necessary, remove the screws, then remove the console bracket (A) from behind the console box (B).

10. Install the armrest in the reverse order of removal, and note these items:
- Replace the E-clips with new ones.

- Apply low strength liquid thread lock to the 5 mm screws fastening the opening spring and both the side panels before reinstallation.

- Make sure the ribs of the driver's side panel and the front passenger's side panel are engaged to the hooks of the console box securely.