Curiosii for ever!: Car repair manuals for everyone.

Blower Unit Removal/Installation




Blower Unit Removal/Installation

1. Remove the passenger's dashboard undercover. Passenger's Dashboard Undercover Removal/Installation

2. Remove the passenger's dashboard trim. Passenger's Dashboard Trim Removal/Installation

3. Remove the glove box. Glove Box Removal/Installation

4. Remove the harness clips (A), the bolts, and the glove box frame (B).






5. Cut the plastic cross brace (A) in the glove box opening with diagonal cutters in the area shown, and discard it.






6. Release the wire from its harness clip (A), then remove the self-tapping screws, and the passenger's heater duct (B).






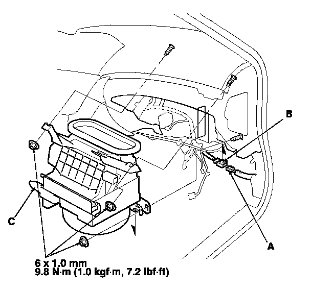
7. Disconnect the connector (A) from the blower motor, and detach the wire harness clips (B).






8. Remove the self-tapping screws and disconnect the climate control unit connector (A), and recirculation control motor connector (B).






9. Disconnect the right engine compartment harness connector (C205) (A) and harness clips (B). Remove the mounting nuts, and the blower unit (C).

10. Install the unit in the reverse order of removal. Make sure that there are no air leaks.