Curiosii for ever!: Car repair manuals for everyone.

Symptom Troubleshooting




Symptom Troubleshooting: Remote will not go into the remote slot

Remote will not go into the remote slot

NOTE: Take care not to scratch the remote slot.

1. Press the engine start/stop button to select the OFF mode.

2. Open the driver's door and check for the key-in reminder.
- If the key-in reminder sounds, go to step 3.

- If the key-in reminder do not sound, replace the remote slot. Keyless Access System Remote Slot Test/Replacement

3. Press the unlock button on the remote to unlock the doors.
- If the door lock actuators work, replace the remote slot. Keyless Access System Remote Slot Test/Replacement

- If the door lock actuators do not work, Go to step 4.

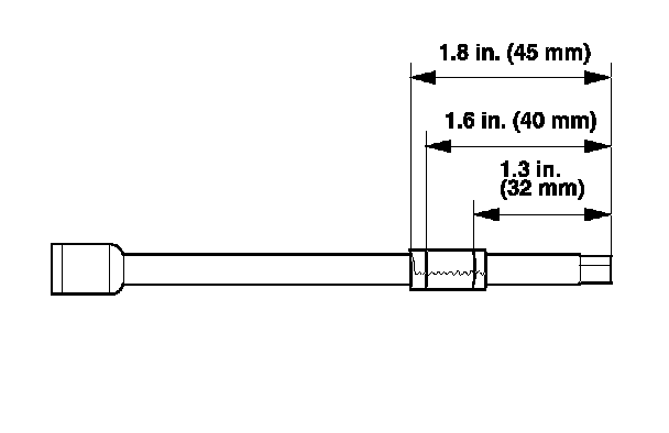
4. Create a measuring gauge by placing a piece of masking tape about 1.8 in. (45 mm) from the tip of 6 inch long 1/4 inch drive extension. Make two lines on tape; one at 1.3 in. (32 mm) and one at 1.6 in. (40 mm).






5. Check the position of the remote carriage in the remote slot. Lift up on the flap (A) of the remote slot, then slide the gauge into the center of the remote slot, and note which line on the tape lines-up with remote slot rim.
- If the remote carriage is at the 1.6 in. (40 mm) line, go to step 6.

- If the remote carriage is at the 1.3 in. (32 mm) line, replace the remote slot. Keyless Access System Remote Slot Test/Replacement





6. Wrap electrical tape (A) around the tips of a long nose locking pliers (Vise Grip tool number 4LN, or equivalent), then set the tips when closed to 0.6 in. (15 mm).






7. Lift up on the flap (A) of the remote slot, then carefully grasp the upper center section of the remote carriage (B) with the pliers, and gently pull to slide the carriage outward.






8. Check the operation of the remote slot:
- Insert the remote into the remote slot.

- Press the engine start/stop button to select the ACC mode. The remote slot should click, locking the remote in place. If it does not click or lock the remote in place, replace the remote slot. Keyless Access System Remote Slot Test/Replacement

- Press the engine start/stop button to select the OFF mode. The remote slot should click again unlocking the remote. If it does not click or unlock the remote, replace the remote slot. Keyless Access System Remote Slot Test/Replacement