Curiosii for ever!: Car repair manuals for everyone.

Headlamp Washer Switch: Service and Repair




Headlight Washer Switch Test/Replacement

Canada models

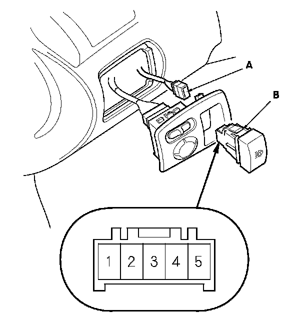
1. Carefully pry the switch panel out from the dashboard.

2. Disconnect the 5P connector (A) from the headlight washer switch (B).






3. Check for continuity between the terminals in each switch position according to the table.






4. If the continuity is not as specified, replace the bulb (C) or the headlight washer switch.

5. Install the parts in the reverse order of removal.