Curiosii for ever!: Car repair manuals for everyone.

Front Door Window Regulator: Service and Repair




Front Door Glass and Regulator Replacement

NOTE: Put on gloves to protect your hands.

1. Remove these items:
- Door panel Front Door Panel Removal/Installation

- Plastic cover Service and Repair

- Door sash outer trim

- Remove the door pull pocket bracket Front Door Pull Pocket Bracket Replacement

2. Carefully raise the glass (A) until you can see the bolts through the oval holes in the door, then remove them. Carefully pull the glass out through the window slot. Take care not to drop the glass inside the door.






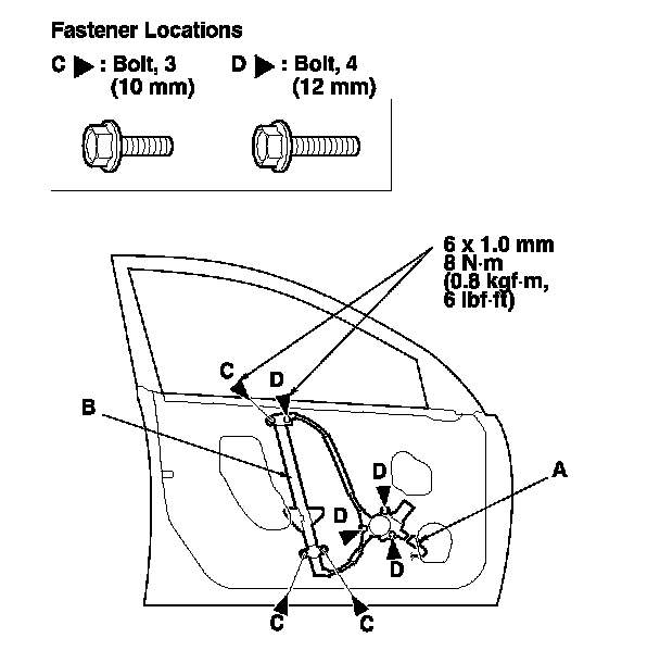
3. Disconnect the connector (A) from the regulator (B).

4. Remove the bolts (C), and loosen the bolts (D), then remove the regulator through the hole in the door.






5. Apply multipurpose grease to the sliding surfaces of the regulator (A) where shown.

6. Install the glass and the regulator in the reverse order of removal, and note these items:
- Roll the glass up and down to see if it moves freely without binding.

- Make sure that there is no clearance between the glass and glass run channel when the glass is closed.

- Adjust the position of the glass as necessary. Adjustments

- Check for water leaks. Adjustments

- Test-drive and check for wind noise and rattles.

- When reinstalling the door panel, make sure the plastic cover is installed properly and sealed around its outside perimeter to prevent water leaks.

- Make sure the power door locks, windows, and the power mirror operate properly.

- Do the power window control unit reset procedure. Testing and Inspection