Curiosii for ever!: Car repair manuals for everyone.

Back Window Glass: Service and Repair




Rear Window Replacement

NOTE:

- Put on gloves to protect your hands.

- Wear eye protection while cutting the glass adhesive with piano wire.

- Cover interior surfaces to avoid damaging them.

- Do not damage the rear window defogger grid lines, window antenna grid lines, and terminals.

1. Remove these items:
- Trunk lid Adjustments

- Rear shelf Service and Repair

- High mount brake light Service and Repair

- XM antenna module Removal and Replacement

2. Disconnect the window antenna connectors (A) and the rear window defogger connectors (B).

3. If the old rear window will be reinstalled, make alignment marks across the glass and the body with a grease pencil.

Left side





Right side





4. Pull down the rear portion of the headliner (A) by detaching the clips. Take care not to bend the headliner excessively, or you may crease or break it.

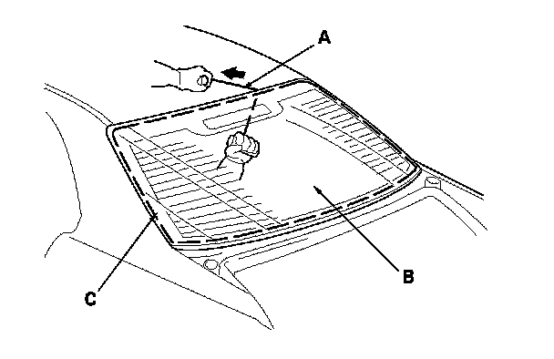
5. Apply protective tape along the inside and outside edges of the body. Using an awl, make a hole through the adhesive from inside the vehicle at the corner portion of the rear window. Push a piece of piano wire through the hole, and wrap each end around a piece of wood.






6. Remove the lower rubber dam (A) from the lower edge of the rear window (B). If necessary, cut the lower rubber dam with a utility knife.






7. With a helper on the outside, pull the piano wire (A) back and forth in a sawing motion. Hold the piano wire as close to the rear window (B) as possible to prevent damage to the body, and carefully cut through the adhesive (C) around the entire rear window.

8. Carefully remove the rear window.

9. With a putty knife, scrape the old adhesive smooth to a thickness of about 2 mm (0.08 in.) on the bonding surface around the entire rear window opening flange:
- Do not scrape down to the painted surface of the body; damaged paint will interfere with proper bonding.

- Remove the Velcro fasteners from the body.

10. Clean the body bonding surface with a sponge dampened in isopropyl alcohol. After cleaning, keep oil, grease and water from getting on the surface.

11. If the old rear window will be reinstalled, use a putty knife to scrape off all of the old adhesive, the moldings and the Velcro fasteners from the rear window. Clean the inside face and the edge of the rear window with isopropyl alcohol where new adhesive will be applied. Make sure the bonding surface is kept free of water, oil, and grease.






Cutting positions





12. Attach the upper rubber dam (A), the lower rubber dam (B), the clips (C), and the fasteners (D) with adhesive tape to the inside face of the rear window (E) as shown:
- Before installing the upper rubber dam, apply primer to the upper corner areas where it adhesive tape will be stuck in inside face of the rear window.

- Be sure the lower rubber dam, the clips, and the fasteners line up with the alignment marks (F).

- Be sure the convex portion (G) of the left and the right clips face toward the left.

- Be careful not to touch the windshield where adhesive will be applied.










13. Attach the lower molding (A) with adhesive tape (B) to the lower edge of the rear window (C):
- After installing the molding, cut the ends (D) of the molding as shown.

- Be careful not to touch the windshield where adhesive will be applied.










14. Attach the Velcro fasteners (A) with adhesive tape to the rear window opening flange (B) of the body on both sides.










15. Set the rear window in the opening, and center it. Make alignment marks (A) across the rear window and the body with a grease pencil at the four points shown. Make sure both upper clips (B) are in the body holes. Be careful not to touch the rear window where adhesive will be applied.

16. Remove the rear window.






17. With a sponge applicator, apply a light coat of glass primer along the edge of the rear window (A) between the dam (B) and the molding (C) as shown, then lightly wipe it off with gauze or cheesecloth:
- Do not apply body primer to the rear window, and do not get body and glass primer sponge applicators mixed up.

- Never touch the primed surfaces with your hands. If you do, the adhesive may not bond to the rear window properly, causing a leak after the rear window is installed.

- Keep water, dust, and abrasive materials away from the primed surfaces.





18. With a sponge applicator, carefully apply a light coat of body primer to any exposed paint around the flange where new adhesive will be applied. Let the primer dry for at least 10 minutes:
- Do not apply body primer to any remaining original adhesive on the flange.

- Be careful not to mix up the body and the glass primer sponge applicators.

- Never touch the primed surfaces with your hands.





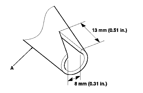
19. Cut a "V" in the end of the nozzle (A) on the adhesive cartridge as shown.






20. Put the cartridge in a caulking gun, and run a bead of adhesive (A) around the edge of the rear window (B) between the dams (C) and the molding (D) as shown. Apply the adhesive within 30 minutes after applying the glass primer. Make a slightly thicker bead at each corner.

21. Use suction cups to hold the rear window over the opening, align it with the alignment marks you made in step 15, and set it down on the adhesive. Lightly push on the rear window until its edges are fully seated on the adhesive all the way around. Do not open or close any of the doors for about an hour until the adhesive is dry.

22. Scrape or wipe any excess adhesive off with a putty knife or towel. To remove adhesive from a painted surface or the rear window, use a soft shop towel dampened with isopropyl alcohol.

23. After the adhesive has dried, then spray water over the rear window and check for leaks. Mark any leaking areas, let the rear window dry, then seal with sealant. Let the vehicle stand for at least 4 hours after rear window installation. If the vehicle has to be used within the first 4 hours, it must be driven slowly.

24. Reinstall all remaining removed parts.
NOTE: Advise the client not to do the following things for 2 to 3 days:

- Slam the doors with all the windows rolled up.

- Twist the body excessively (such as when going in and out of driveways at an angle or driving over rough, uneven roads).