Curiosii for ever!: Car repair manuals for everyone.

A/T Clutch Pressure Control Solenoid Valve C Test




A/T Clutch Pressure Control Solenoid Valve C Test

1. Connect the HDS to the DLC (A).

2. Select Clutch Pressure Control (Linear) Solenoid C in the Miscellaneous Test Menu on the HDS.
NOTE: If the HDS does not communicate with the PCM, troubleshoot the DLC circuit. Testing and Inspection

3. Test A/T clutch pressure control solenoid valve C with the HDS.
- If the valve tests OK, the test is complete. Disconnect the HDS.

- If the valve does not test OK, follow the instructions on the HDS.

- If the valve does not test OK, and the HDS does not determine the cause, go to step 4.

4. Do the battery removal procedure. Removal and Replacement

5. Remove the air cleaner. Service and Repair

6. Remove the battery base.






7. Disconnect the A/T clutch pressure control solenoid valve C connector.

8. Measure A/T clutch pressure control solenoid valve C resistance at the connector terminals.





- If the resistance is out of standard, replace A/T clutch pressure control solenoid valve C. A/T Clutch Pressure Control Solenoid Valve C Replacement

- If the resistance is within the standard, go to step 9.

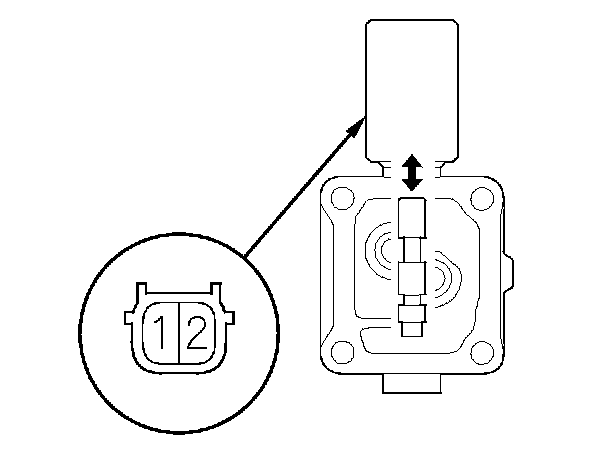
9. Connect a jumper wire from the negative battery terminal to the solenoid valve C connector terminal No. 2, and connect another jumper wire from the positive battery terminal to the connector terminal No. 1.
- If a clicking sound is heard, the valve is OK. Reconnect the connector, and install all removed parts.

- If no clicking sound is heard, go to step 10.





10. Remove A/T clutch pressure control solenoid valve C.

11. Remove the ATF joint pipes, O-rings, ATF pipe, and gasket.

12. Check the fluid passage of the solenoid valve for contamination.






13. Connect a jumper wire from the negative battery terminal to A/T clutch pressure control solenoid valve C connector terminal No. 2, and connect another jumper wire from the positive battery terminal to connector terminal No. 1. Make sure A/T clutch pressure control solenoid valve C moves.

14. Disconnect one of the jumper wires, and check valve movement at the fluid passage in valve body mounting surface. If the valve binds or moves sluggishly, or if the solenoid valve does not operate, replace A/T clutch pressure control solenoid valve C.

15. Clean the mounting surfaces and the fluid passages of the solenoid valve body and transmission housing.






16. Install the 8 x 53 mm ATF joint pipe (A) with the filter end into its mounting hole (B).






17. Check the height (A) of the 8 x 53 mm ATF joint pipe (B) between the top (C) of the pipe and solenoid valve body mounting surface (D). The height is about 7 mm (0.3 in.) If the height is over 7 mm (0.3 in.), push the pipe until it bottoms in the accumulator body.






18. Install the new gasket (A) on the transmission housing, and install the 8 x 34.5 mm ATF joint pipe (B) with the filter end into the transmission housing and 8 x 25.2 mm ATF pipe (D).

19. Install new O-rings (E) over the ATF joint pipes.

20. Install A/T clutch pressure control solenoid valve C.

21. Check the connector for rust, dirt, or oil, then connect the connector securely.

22. Install the air cleaner. Service and Repair

23. Install the battery base.

24. Do the battery installation procedure. Removal and Replacement