Curiosii for ever!: Car repair manuals for everyone.

A/C System Test




A/C System Test

Performance Test

CAUTION
- Air conditioning refrigerant or lubricant vapor can irritate your eyes, nose, or throat.

- Be careful when connecting service equipment.

- Do not breathe refrigerant or vapor.


The performance test will help determine if the A/C system is operating within specifications.

NOTE:

- If accidental system discharge occurs, ventilate the work area before resuming service.

- Additional health and safety information may be obtained from the refrigerant and lubricant manufacturers.

1. Connect a R-134a refrigerant recovery/recycling/charging station to the high-pressure service port and the low-pressure service port, following the equipment manufacturer's instructions.

2. Determine the relative humidity and the air temperature.

3. Remove the glove box. Glove Box Removal/Installation

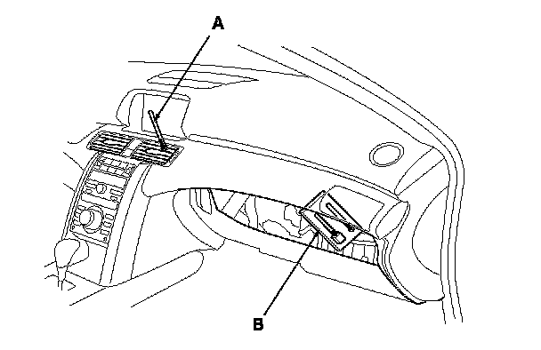
4. Insert a thermometer (A) in the center vent.

5. Place another thermometer (B) near the blower unit's recirculation inlet duct.

6. Test conditions:
- Avoid direct sunlight.

- Open hood.

- Open front doors.

- Set the temperature control dial to Lo and turn off the dual mode.

- Run the engine at 1,500 rpm.

- No driver or passengers in vehicle.

7. After running the air conditioning for 10 minutes under the above test conditions, read the delivery temperature from the thermometer in the center vent, the intake temperature near the blower unit, and the discharge (high) and suction (low) pressures on the A/C gauges.






8. To complete the vent (delivery)/ambient air (intake) temperature chart:
- Mark the vent (delivery) temperature on the vertical line.

- Mark the ambient air (intake) temperature on the bottom line.

- Draw a vertical line from the ambient air (intake) temperature mark.

- Draw a horizontal line from the vent (delivery) temperature mark until it intersects the vertical line.
NOTE: The vent temperature and the ambient air temperature should intersect in the shaded area. Any measurements outside the area may indicate the need for further inspection.





9. To complete the high side (discharge) pressure/ambient air (intake) temperature chart:
- Mark the high side (discharge) pressure on the vertical line.

- Mark the ambient air (intake) temperature on the bottom line.

- Draw a vertical line from the ambient air (intake) temperature mark.

- Draw a horizontal line from the high side (discharge) pressure mark until it intersects the vertical line.
NOTE: The high side pressure and the ambient air temperature should intersect in the shaded area. Any measurements outside the area may indicate the need for further inspection.





10. To complete the low side (suction) pressure/ambient air (intake) temperature chart:
- Mark the low side (suction) pressure along the vertical line.

- Mark the ambient air (intake) temperature along the bottom line.

- Draw a vertical line from the ambient air (intake) temperature mark.

- Draw a horizontal line from the low side (suction) pressure mark until it intersects the vertical line.
NOTE: The low side pressure and the ambient air temperature should intersect in the shaded area. Any measurements outside the area may indicate the need for further inspection.





Pressure Test