Curiosii for ever!: Car repair manuals for everyone.

Front Inner Fender Replacement




Front Inner Fender Replacement

Special Tools Required

- Push pin puller 07AAC-SJAA100
NOTE:

- Use the special tool to remove the clips.

- Take care not to scratch the body.

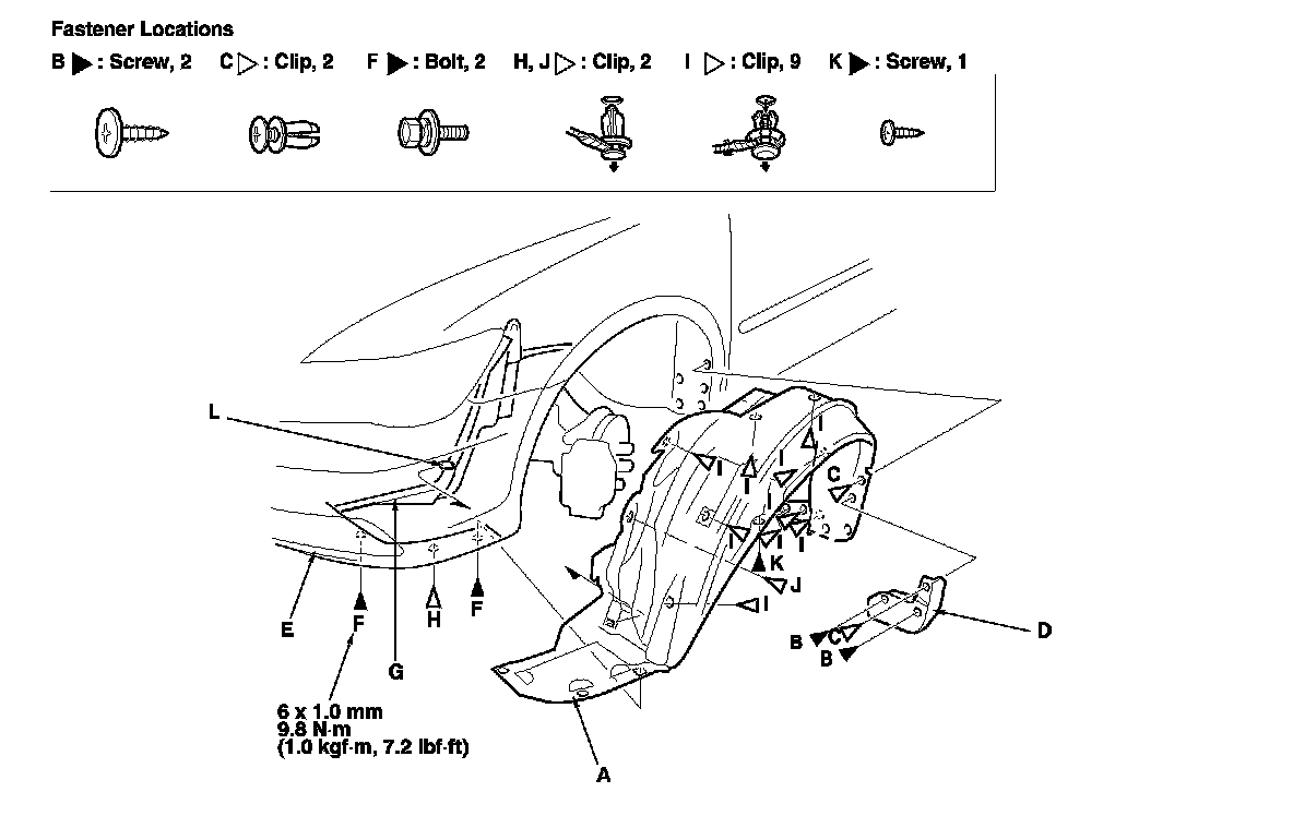
1. Remove the front inner fender (A).
-1 Remove the screws (B) and clips (C) from the rear of the front wheel arch, then remove the splash guard (D) (Canada models).
-2 From under the front bumper (E), remove the bolts (F) securing the front bumper, splash shield (G), and the front inner fender. Remove the clip (H) securing the front bumper and the front inner fender.
-3 From the wheel arch, remove the clips (I, J) and screw (K) securing the front inner fender (and splash shield) to the body.
-4 Release the hook (L) of the splash shield, then remove the front inner fender.

2. Install the inner fender in the reverse order of removal, and note these items:
- If the clips are damaged or stress-whitened, replace them with new ones.

- Push the clips into place securely.