Curiosii for ever!: Car repair manuals for everyone.

Back-Up Light Switch Test

Back-up Light Switch Test
1. Disconnect the back-up light switch connector (A).





2. Check for continuity between the back-up light switch 2P connector terminals No. 1 and No. 2. There should be continuity when the shift lever is only in reverse.
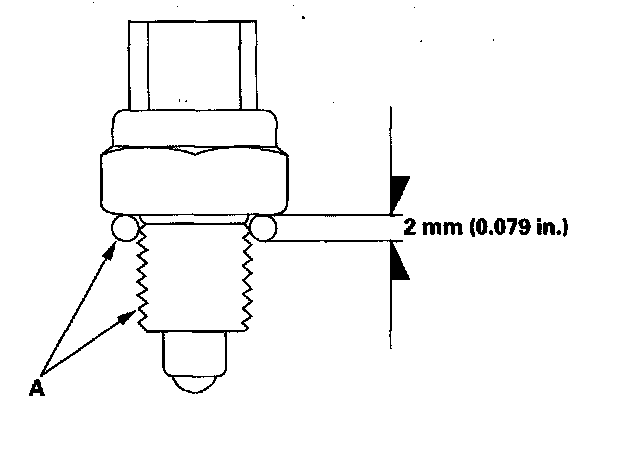
3. If necessary, replace the back-up light switch. Apply liquid gasket, P/N 08718-0001 (A) evenly to the threads of the back-up light switch, and a 2 mm (0.079 in.) bead around the mating surface of the transmission housing. Install the component within 5 minutes of applying the liquid gasket.

NOTE:
^ If you apply liquid gasket P/N 08718-0012, the component must be installed within 4 minutes.
^ If too much time has passed after applying the liquid gasket, remove the old liquid gasket and residue, then reapply new liquid gasket.