Curiosii for ever!: Car repair manuals for everyone.

Wheel Speed Sensor: Testing and Inspection

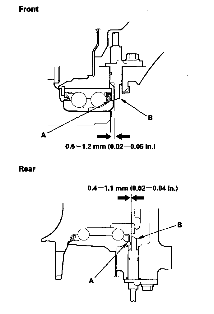
Wheel Sensor Inspection

1. Clean the encoder, and make sure no metal is stuck to the encoder surface.
2. Check the magnetic encoder (A) for damage. If cracked or damaged, replace the encoder.

^ Front: Wheel bearing replacement
^ Rear: Hub bearing unit





3. Measure the air gap between the wheel sensor (B) and the magnetic encoder all the way around while rotating the encoder.

Standard:
Front: 0.5 - 1.2 mm (0.02 - 0.05 in.)
Rear: 0.4 - 1.1 mm (0.02 - 0.04 in.)