Curiosii for ever!: Car repair manuals for everyone.

Passenger's Power Window Switch Test/Replacement

Passenger's Power Window Switch Test/Replacement

Front Passenger's

NOTE: To test the front passenger's power window switch, refer to the input test.

1. Remove the front passenger's door panel and arm rest.
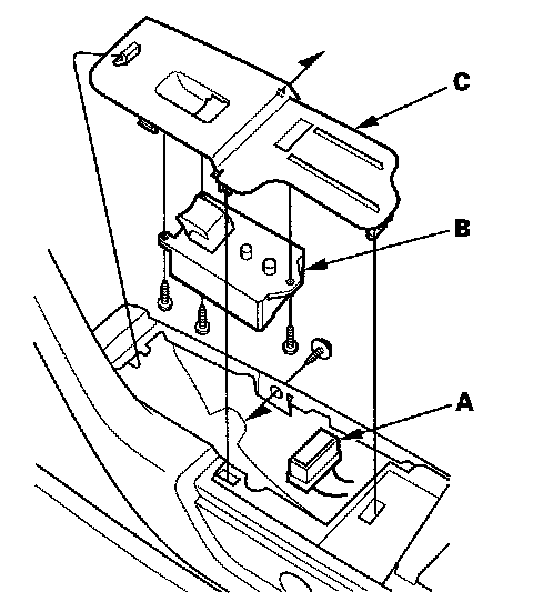
2. Remove the screw and disconnect the connector (A) from the front passenger's power window switch (B), then remove the switch assembly from the door panel.






3. Remove the three mounting screws, then remove the front passenger's power window switch from the switch panel (C).
4. Install in the reverse order of removal.
5. Reset the power window control unit.

Rear

1. Remove the rear door panel and arm rest.
2. Remove the screw and disconnect the connector (A) from the rear power window switch (B), then remove the switch assembly from the door panel.






3. Remove the three mounting screws, then remove the rear power window switch from the switch panel (C).
4. Swap the rear power window switch with another known-good switch and test. If the original rear power window switch is faulty; replace it.
5. Install in the reverse order of removal.