Curiosii for ever!: Car repair manuals for everyone.

Front Strake Replacement

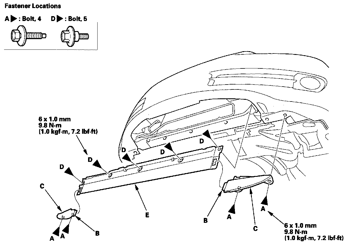
Front Strake Replacement

NOTE: Take care not to scratch the body.




1. Remove the bolts (A) and release the hooks (B), then remove the front strakes (C).
2. Remove the bolts (D), then remove the front air guide plate (E).
3. Install the strakes and plate in the reverse order of removal.