Curiosii for ever!: Car repair manuals for everyone.

Electronic Control System

Electronic Control System

Electronic Control
The electronic control system consists of the powertrain control module (PCM), sensors, and solenoid valves. Shifting and lock-up are electronically controlled for comfortable driving under all conditions.

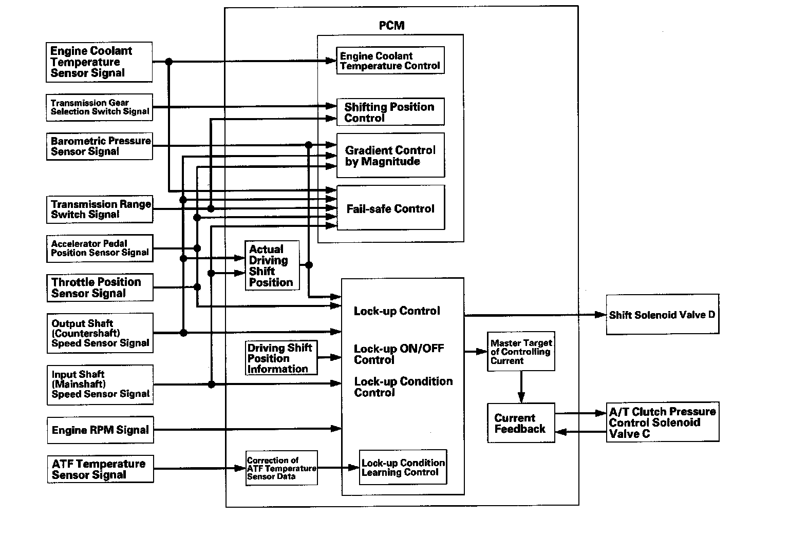
Functional Diagram
The PCM receives input signals from the sensors, switches, and other control units, processes data, and outputs signals for the engine control system and A/T control system. The A/T control system includes shift control, grade logic control, clutch pressure control, and lock-up control. The PCM switches the shift solenoid valves and the A/T clutch pressure control solenoid valves to control gear selection and lock-up torque converter clutch.





Shift Control
The PCM instantly determines which gear should be selected by various signals sent from sensors and switches, and it actuates shift solenoid valves A, B, C, and D to control gear selection.

The shift solenoid valves have two types:
^ Shift solenoid valves A and D use ON-OPEN/OFF-CLOSE type; shift solenoid valve opens the port of shift solenoid valve pressure while shift solenoid valve is turned ON by the PCM, and closes the port when shift solenoid valve is OFF.
^ Shift solenoid valves B and C use ON-CLOSE/OFF-OPEN type; shift solenoid valve closes the port of shift solenoid valve pressure while shift solenoid valve is turned ON by the PCM, and opens the port when shift solenoid valve is OFF.





Shift Control - Grade Logic Control
The grade logic control system has been adopted to control shifting in D. To control shifting while the vehicle is ascending or descending a slope the PCM compares actual driving conditions with programmed driving conditions, based on the input from the accelerator pedal position sensor, the engine coolant temperature sensor, the barometric pressure sensor, the brake pedal position switch signal, and the shift lever position signal.





Grade Logic Control: Ascending Control
When the PCM determines that the vehicle is climbing a hill in D, the system extends the engagement area of 2nd gear, 3rd gear, and 4th gear to prevent the transmission from frequently shifting between 2nd and 3rd gears, between 3rd and 4th gears, and between 4th and 5th gears, so the vehicle can run smooth and have more power when needed.

NOTE: Shift commands stored in the PCM between 2nd and 3rd gears, between 3rd and 4th gears, and between 4th and 5th gears, enable the PCM to automatically select the most suitable gear according to the magnitude of a gradient.





Grade Logic Control: Descending Control
When the PCM determines that the vehicle is going down a hill in D, the shift-up speed from 4th to 5th gear, 3rd to 4th gear, and from 2nd to 3rd (when the throttle is closed) becomes faster than the set speed for flat road driving to extend the 4th gear, 3rd gear, and 2nd gear driving areas. This, in combination with engine braking from the deceleration lock-up, achieves smooth driving when the vehicle is descending. There are three descending modes with different 4th gear driving areas, 3rd gear driving areas, and 2nd gear driving areas according to the magnitude of a gradient stored in the PCM. When the vehicle is in 5th or 4th gear and you are decelerating while applying the brakes on a steep hill, the transmission will downshift to a lower gear. When you accelerate, the transmission will then return to a higher gear.





Deceleration Control
When the vehicle goes around a corner and needs to decelerate first and then accelerate, the PCM sets the data for deceleration control to reduce the number of times the transmission shifts. When the vehicle is decelerating from speeds above 27 mph (43 km/h), the PCM shifts the transmission from 5th or 4th to 2nd earlier than normal to cope with upcoming acceleration.

Shift-hold Control
When negotiating winding roads, the throttle is suddenly released and the brakes are applied, as is the case when decelerating at the entrance of a corner, Shift-hold Control keeps the transmission in its current (lower) ratio as it negotiates the corner and accelerates out.

When the vehicle is driven aggressively on a winding road, the PCM will extend the engagement time of 3rd gear and 4th gear to prevent the transmission from frequently shifting between 3rd, 4th, and 5th gears. This allows the driver to have more control for both acceleration and deceleration.

The PCM monitors the average change in vehicle speed and throttle over time. When these values exceed those for normal driving conditions, the shift-up from 3rd to 4th gear and 4th to 5th gear is delayed. This gives more control over power, and engine braking when the driver is driving aggressively around winding roads. The transmission will resume the normal shift-up pattern after the PCM determines that normal driving has resumed.





Shift Control - Sequential Shift Mode
The transmission is provided a sequential shift mode in M. In D, the transmission has two modes; the automatic shift mode and the sequential shift mode. The transmission is switched to the sequential shift mode by moving the shift lever into M from D, and the driver can shift up and down manually 1st through 5th gears with the shift lever, and by using the paddle shifter +/- (upshift/downshift switch) (J35A8 engine); much like a manual transmission.

The vehicle can start off in 1st and 2nd gear in M.

The sequential shift upshift switch and the downshift switch are in the shift lever, and the paddle shifter + (upshift switch) and the paddle shifter - (downshift switch) are installed on the back of the steering wheel. The driver can shift gears by moving the shift lever by hand, or by pressing the paddle shifter +/- (upshift/downshift switch) (J35A8 engine) without taking either hand off the steering wheel.





The M indicator and the shift indicator are in the tachometer in the gauge control module.





In M; the sequential shift mode, the M indicator comes on, and the shift indicator displays the number of the gear selected.

Clutch Pressure Control
The PCM actuates A/T clutch pressure control solenoid valves A, B, and C to control the clutch pressure. When shifting between gears, the clutch pressure regulated by A/T clutch pressure control solenoid valves A, B, and C engages and disengages the clutch smoothly.

The PCM receives input signals from the various sensors and switches, performs processing data, and outputs current to A/T clutch pressure control solenoid valves A, B, and C.





Lock-up Control
Shift solenoid valve D controls the hydraulic pressure to switch the lock-up shift valve and lock-up ON and OFF. The PCM actuates shift solenoid valve D and A/T clutch pressure control solenoid valve C ON, lock-up starts. A/T clutch pressure control solenoid valve C regulates and apply the hydraulic pressure to the lock-up control valve to control the volume of the lock-up.

The lock-up mechanism operates in D (2nd, 3rd, 4th, and 5th) and D with sequential shift in M (sequential shift mode) (3rd, 4th, and 5th).




PCM A/T Control System Electrical Connections:




PCM A/T Control System Inputs and Outputs (Part 1):




PCM A/T Control System Inputs and Outputs (Part 2):










PCM A/T Control System Inputs and Outputs (Part 3):