Curiosii for ever!: Car repair manuals for everyone.

A/T Clutch Pressure Control Solenoid Valve B Test

A/T Clutch Pressure Control Solenoid Valve B Test

1. Connect the HDS to the DLC (A).





2. Make sure the HDS communicates with the PCM. If it does not, go to the DLC circuit troubleshooting.
3. Select Clutch Pressure Control (Linear) Solenoid Valve B in the Miscellaneous Test Menu on the HDS.
4. Test A/T clutch pressure control solenoid valve B with the HDS.

^ If the valve tests OK, the test is complete. Disconnect the HDS.
^ If the valve does not test OK, follow the instructions on the HDS.
^ If the valve does not test OK, and the HDS does not determine the cause, go to step 5.

5. Make sure you have the anti-theft codes for the audio system and the navigation system (if equipped).
6. Remove the battery trim and the left upper fender cover.
7. Disconnect the negative cable from the battery, then disconnect the positive cable.
8. Remove the battery hold-down bracket, then remove the battery and the battery tray.
9. Remove the intake air duct and the air cleaner assembly.
10. Remove the battery base.
11. Disconnect the A/T clutch pressure control solenoid valve B connector.





12. Measure the resistance between A/T clutch pressure control solenoid valve B connector terminals No. 1 and No. 2.

Standard: 3-10 Ohms

^ If the resistance is out of standard, replace A/T clutch pressure control solenoid valve B.
^ If the resistance is within the standard, go to step 13.

13. Connect a jumper wire from the negative battery terminal to solenoid valve B connector terminal No. 2, and connect a jumper wire from positive battery terminal to connector terminal No. 1.

^ If a clicking sound is heard, the valve is OK. Reconnect the connector, and install all removed parts.
^ If no clicking sound is heard, go to step 14.

14. Remove the nuts securing the shift cable bracket (A).





15. Remove the spring clip/washer (B) and the control pin (C), then separate the shift cable end (D) from the control lever (E).
16. Check the bushing (F) in the shift cable end for proper fit and wear. If the bushing is loose or worn, replace the shift cable.
17. Disconnect the connectors from A/T clutch pressure control solenoid valves A, B, the solenoid harness, the transmission range switch, the ATF temperature sensor, the output shaft (countershaft) speed sensor, the input shaft (mainshaft) speed sensor, the 3rd clutch transmission fluid pressure switch, and the 4th clutch transmission fluid pressure switch.
18. Remove the bolt securing the harness cover (A).





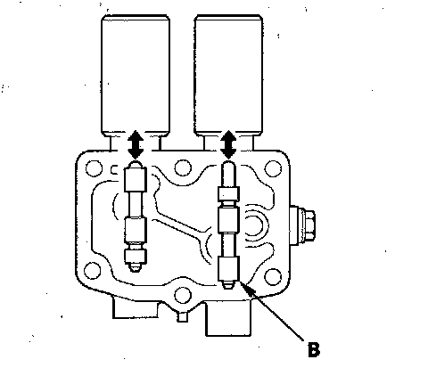
19. Remove A/T clutch pressure control solenoid valves A and B, the ATF pipes (C), the gasket (D), and the O-rings (E).





20. Check the fluid passage of the solenoid valve for contamination.
21. Connect a jumper wire from the negative battery terminal to A/T clutch pressure control solenoid valve B connector terminal No. 2, and connect a jumper wire from the positive battery terminal to connector terminal No. 1. Make sure A/T clutch pressure control solenoid valve B moves.





22. Disconnect one of the jumper wires and check the valve movement at the fluid passage in the valve body mounting surface. If the valve binds or moves sluggishly, or if the solenoid valve does not operate, replace A/T clutch pressure control solenoid valves A and B.
23. Clean the mounting surfaces and the fluid passages of the solenoid valve body and the solenoid valve cover.
24. Install a new solenoid valve body gasket on the solenoid valve cover, and install the ATF pipes with the filter side in the transmission housing. Install new O-rings over the ATF pipes.
25. Install A/T clutch pressure control solenoid valves A and B.
26. Secure the harness cover with the bolt.
27. Check the connectors for rust, dirt, or oil, clean or repair if necessary, then connect the connectors securely.
28. Apply molybdenum grease to the hole in the bushing in the shift cable end. Attach the shift cable end to the control lever, then insert the control pin into the control lever hole through the shift cable end, and secure the control pin with the spring clip/washer.
29. Secure the shift cable bracket with the nuts.
30. Install the battery base.
31. Install the intake air duct and the air cleaner assembly.
32. Install the battery tray, the battery, and the battery hold down bracket, then connect the battery terminals.
33. Install the left upper fender cover and the battery trim.
34. Enter the anti-theft codes for the audio system and the navigation system (if equipped). Set the clock (on vehicles without navigation).